Строение Луны [Игорь Николаевич Галкин] (fb2) читать онлайн


 [Настройки текста]  [Cбросить фильтры]
  [Оглавление]

И. Н. Галкин, кандидат физико-математических наук В. В. Шварев, доктор технических наук СТРОЕНИЕ ЛУНЫ

Введение

Добыча глубоко скрытых под землей полезных ископаемых, предсказание землетрясений и извержений вулканов, сохранение экологического равновесия в природе в настоящее время являются важными задачами, стоящими перед человечеством. Для этого нужно было понять Землю, раскрыть тайны ее истории и устройства. Проникнуть в ее сверхсжатые и раскаленные глубины помогает геофизика. Сейсмическая волна, точно луч прожектора, «освещает» земные недра. Изучая отдельные свойства Земли, такие, как магнетизм, силу тяжести тепловой поток, ученые пытаются воссоздать цельную картину внутренней жизни планеты.

Однако далеко не все проблемы удается решить, находясь на Земле. Дело в том, что интенсивные магматические процессы многократно переплавляли материнские породы Земли; вода, ветер, живые организмы стирали следы ее ранней молодости, а тектонические движения, рождение гор, дрейф континентов перекраивали формы ее лика. Чтобы понять раннюю историю Земли, направленность ее развития и предвосхитить будущее, понадобился взгляд на Землю извне, из космоса. Такой «взгляд» дают лунные исследования.

Луна, лишенная атмосферы и гидросферы, — уникальное хранилище следов космической истории планет, ключ, с помощью которого люди надеялись (и, как оказалось, не напрасно) проникнуть в геологические тайны. Длительные наземные исследования Луны с помощью астрономических и астрофизических методов позволили получить многочисленные данные о закономерностях ее движения и физических условиях на лунной поверхности, однако этого оказалось недостаточно. Лишь развитие космической техники сделало возможным подключить к исследованиям Луны традиционные науки о Земле — геологию, геохимию и геофизику, владеющие мощными методами наблюдений и анализа данных.

Успешные полеты к Луне и ее фотографирование с близкого расстояния позволили прежде всего усилить геологические исследования Луны путем анализа ее фотоснимков. Доставка образцов лунного вещества открыла невиданные возможности исследования возраста и состава пород Луны методами геохимии, позволила установить последовательность событий в эволюции Луны. Первая мягкая посадка на Луне, осуществленная в 1966 г. советской автоматической станцией «Луна-9», открыла период активного исследования непосредственно на поверхности Луны. Советские автоматические станции первыми провели мягкую посадку в морском и континентальном районах Луны, фотографирование поверхности, измерение плотности и прочности лунного грунта, бурение поверхностного слоя, измерения физических свойств грунта на протяженных трассах.

Измерения механических, а также некоторых других физических характеристик грунта в различных точках поверхности Луны проводились американскими автоматическими станциями «Сервейер». Большой комплекс наблюдений на поверхности, отбор и доставку лунных образцов, измерение физических полей на Луне произвели американские космические экспедиции «Аполлонов».

Эта брошюра посвящена проблемам строения Луны. В ней кратко изложены история, методы и результаты комплексных физических исследований лунного грунта, коры и глубоких недр Луны, проведенных в минувшее десятилетие. Анализ всех накопленных данных позволил оценить состояние вещества недр Луны, ее состав и особенности эволюции и сравнить свойства Земли и Луны ради лучшего понимания нашей родной планеты (см. табл. 1 и 2).

Следует отметить, что исследования глубинного строения Луны, хотя они и принесли важные открытия, все же далеки от завершения. Ввиду ограниченности объема наблюдений строение, состав, состояние вещества Луны на больших глубинах известны неточно, толкование наблюдений оказывается неоднозначным.

Таблица 1

Физические характеристики Земли и Луны

Таблица 2

Физико-механические характеристики реголита[1]

В связи с этим авторам показалось естественным остановить внимание читателей не только на окончательных результатах, но также отметить меру их надежности, поговорить о методах исследований и о том первичном материале наблюдений, который лежит в основе последующих выводов. В частности, понадобилось заняться спецификой сейсмичности Луны, отражающей состояние недр и особенности планетарной структуры — разделение Луны на размягченную внутреннюю область и жесткую мощную литосферу, парализующую ее тектоническую активность.

Мы практически не анализируем здесь данные, касающиеся состава и возраста пород Луны, — эта важная и обширная тема требует специального рассмотрения. И наоборот, целые разделы были выделены для описания исследований лунного грунта, которые проводились по специальной методике, в большом объеме и представляют огромный научный интерес как с точки зрения усовершенствования космической техники, так и для экстраполяции открытых закономерностей на большие глубины.

Мы хотели бы, чтобы читатель ощутил всю фантастичность, сложность и рискованность лунных космических «одиссей», проникся гордостью за науку, заинтересовался историей развития и строением космических. «родственниц» — Земли и Луны, увидел «сквозь испещренное кратерами запыленное лунное окно» земные загадки и проблемы и пожелал посвятить свои силы изучению нашей неповторимой планеты.

Сейсмичность и скоростная структура Луны


Методика эксперимента. Наиболее важные сведения о строении и состоянии недр Луны были получены благодаря лунному сейсмическому эксперименту. Он проводился в рамках программы «Аполлон» и состоял из непрерывной регистрации естественных лунотрясений и падений метеоритов с помощью сейсмометров, установленных американскими космонавтами на поверхности Луны, а также из активного исследования — с помощью искусственных источников сейсмических волн: взрывов и ударов при падении космических аппаратов (лунной кабины, ступени ракеты-носителя) на поверхность Луны. [2]

Первый лунный сейсмометр был установлен 20 июля 1969 г. в Море Спокойствия на видимой стороне Луны во время экспедиции «Аполлона-11». Он питался солнечными батареями и вел сейсмическую запись только днем. В период с ноября 1969 г. по декабрь 1972 г. на. видимой стороне Луны была создана сеть из четырех однотипных автоматических сейсмических станций, которые питаются изотопными энергетическими установками, рассчитанными на 10 лет непрерывной работы. Координаты и дата начала работы станций приведены в таблице.

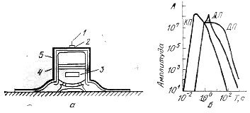
Каждая из этих станций оборудована сейсмометрами двух типов и электронным блоком (рис. 1). Три длиниопериодных сейсмометра расположены вертикально и горизонтально и позволяют фиксировать сейсмические волны от удаленных источников и определять направление на эпицентр. Для более точного выделения воля на малых расстояниях используется вертикальный короткопериодный сейсмометр. Эти сейсмометры чувствуют ничтожные перемещения поверхности, соизмеримые с размерами атома (10-8 см). На Земле вести наблюдения при такой чувствительности аппаратуры почти невозможно: мешают микросейсмы, волнение океана, ветер, а также промышленные механизмы. Луна в связи с отсутствием атмосферы, гидросферы, биосферы и активных внутренних процессов представляет собой идеальный полигон для сверхточных сейсмических исследований.

Электронный блок сейсмической станции включает усилитель, фильтр, командно-контрольную схему и аналого-цифровой преобразователь (передача сейсмических данных на Землю происходит со скоростью 1060 бит/с). Вся станция потребляет мощность лишь 4,3–7,4 Вт; температура внутри приборов постоянная с точностью ±1 °C. Вес каждого сейсмометра 750 г, размеры без термостата 23 х 29 см. Общий вес сейсмической станции 11, 5 кг. Сейсмометры управляются с Земли при помощи команд, которые регулируют усиление, калибровку, скорость и направление движения моторов, устанавливающих с точностью ±5° нужные азимут и наклон вертикальных сейсмометров.

Рис. 1. Лунные сейсмометры (а — блок-схема, б — частотные характеристики):

1 — солнечный компас; 2 — датчик уровня; 3 — короткопериодный сейсмометр (КП); 4 — длиннопериодный сейсмометр (ДП); 5 — термостат


В настоящее время действуют все сейсмометры этой сети, кроме короткопериодного, установленного экспедицией «Аполлона-12», и вертикального длиннопериодного сейсмометра «Аполлона-14».

Лунные сейсмограммы совершенно непохожи на земные (рис. 2): амплитуда зарегистрированных сейсмических колебаний нарастает постепенно и спадает еще более медленно («сейсмозвон» на Луне длится часами). Записи на вертикальном и горизонтальном сейсмометрах непохожи друг на друга, и не существует четких вступлений волн в последующей части записи — для их выделения приходится прибегать к различным ухищрениям: использовать узкополосные частотные и поляризационные фильтры и т. д.

Рис. 2. Форма записи тектонических, приливных лунотрясений и ударов метеоритов


Для этих вначале заинтриговавших особенностей лунных сейсмограмм было получено объяснение. Дело в том, что верхний слой Луны очень неоднороден и разбит трещинами вследствие метеоритной бомбардировки. Сейсмические сигналы, рассеиваясь на этих неоднородностях, растягиваются «во времени» и разрушаются. При этом из-за отсутствия на Луне воздуха и воды тепловые потери упругой энергии невелики, и, наоборот, так называемая сейсмическая добротность (величина, обратная потере энергии на одном цикле сейсмических колебаний) большая — поэтому-то колебания не затухают очень долго (рис. 3).

Особенности распространения сейсмических волн в такой неоднородной среде довольно точно описываются уравнениями диффузионной теории (кстати говоря, как и в случае броуновского движения молекул). С помощью этих уравнений получены следующие оценки свойств лунного рассеивающего слоя: его эффективнаямощность равна 15–25 км, размеры неоднородностей— 2–5 км (причем степень неоднородности уменьшается с глубиной).

Приливные лунотрясения. Среди естественных сейсмических событий на Луне выделяют приливные, тепловые и тектонические лунотрясения, а также падения метеоритов. Сейсмологами разработаны критерии распознавания природы события по виду его записи, подобные тем, которые используются на Земле для идентификации землетрясений и ядерных взрывов.

Тепловые сотрясения почвы вызываются перепадами температур поверхности Луны, достигаемых в течение лунного дня и лунной ночи (до 300 °C). Они сопровождаются растрескиванием огород и оползанием склонов кратеров, что приводит к медленному выравниванию лунного рельефа (за 5 млн. лет склон 200-метрового кратера становится более пологим на 1°). Однако абсолютное большинство всех сейсмических явлений на Луне (около 90 %) составляют относительно редкие, регулярные, весьма слабые приливные лунотрясения с очень глубокими очагами.

В настоящее время проанализированы сейсмические данные, полученные с помощью лунных сейсмометров за период с ноября 1969 г. по июль 1972 г. За это время зарегистрировано около 5400 сейсмограмм приливных лунотрясений. В среднем около 600 таких лунотрясений ежегодно фиксируется в Океане Бурь на станции «Аполлона-12», 650 — в Апеннинах («Аполлон-15»), 1500 — в районе Фра-Мауро («Аполлон-14») и около 3000 — в районе кратера Декарт («Аполлон-16»). Различие в количестве подобных сейсмических явлений, зарегистрированных станциями, объясняется грунтовыми условиями: лунотрясений больше там, где мощнее верхний слой грунта и подстилающих его обломочных пород — брекчий. Всеми станциями регистрируется в среднем около 700 приливных лунотрясений в год, но только 25 % записей из них пригодны для анализа.

Все приливные лунотрясения очень слабы. Энергия, выделяемая в их очаге, составляет 107 — 109 эрг, что эквивалентно световой энергии люстр в Большом театре. Условная величина интенсивности события, принятая в сейсмологии — магнитуда, — для приливных лунотрясений равна 0,5–1,3, тогда как у самых сильных землетрясений она достигала 8, 5. На Земле сотрясения почвы, столь же слабые, как приливные лунотрясения, не удается различить на фоне более интенсивных микросейсм. Если просуммировать энергию по всем известным очагам приливных лунотрясений и считать, что на обратной стороне сейсмичность не выше, чем в районе Декарта, то получится общий расход сейсмической энергии приливных лунотрясений в год, равный 1010 — 1012 эрг. Это более чем в триллионы раз меньше энергии землетрясений.

Рис. 3. Характер убывания амплитуд на сейсмограммах:

1 — земные сейсмограммы на скальном грунте; 2 — земные — на слое осадков; 3 — теоретическая кривая для диффузионного рассеяния; 4 — экспериментальная кривая для Луны


Кривые зависимости числа лунотрясений от амплитуды колебания грунта в сейсмической волне, эквивалентные «графикам повторяемости» землетрясений, показывают силу самого большого сотрясения, а также количество самых слабых толчков. Их— наклон для лунотрясений в 1,5–3,7 раза круче, чем у тектонических землетрясений. Это значит, что Луна устроена так, что в ней происходит много слабых сейсмических толчков и невозможны сильные. Подобные зависимости на Земле получаются для мелкоочаговых вулканических землетрясений, а также для подводных землетрясений в регионах срединных океанических хребтов.

Благодаря тому что сейсмические станции на Луне расположены в вершинах треугольника со сторонами около 1000 км, удается определять как положение эпицентра, так и глубину очага лунотрясения (эпицентром называется проекция очага на поверхность). Однако из-за малого количества станций точность таких определений невелика (50 — 100 км). Для всех очагов форма записи остается постоянной за все время наблюдения. По этому свойству выделена 41 очаговая зона, для 27 из них определены координаты эпицентров, а для 18 — глубины очагов.

Эпицентры группируются в два узких протяженных сейсмических пояса. Первый располагается примерно по меридиану (по 20–30° з. д.), начинается у 30° с. ш. и растягивается на 2000 км до 40° ю. ш. (расширяясь от 100 км на севере до 200–300 км на юге). Второй пояс шириной более 300 км тянется на 1800 км от центра видимой стороны Луны на восток-северо-восток. Близ его продолжения находится единственный эпицентр, зафиксированный на обратной стороне Луны.

Намечается некоторая связь положения эпицентров с особенностями лунного рельефа. Эпицентры первого сейсмического пояса, включающего половину очагов и 63 % общего числа лунотрясений, проходят по западному обрамлению Морей Дождей, Познанного и Облаков (и даже слегка отклоняются к востоку по контуру Моря Облаков). При этом 50 % числа лунотрясений происходит на 700-километровом участке в области сочленения Океана Бурь с Морями Познанным и Облаков.

Больше половины эпицентров второго сейсмического пояса также попадают на окраины лунных морей: два находятся на юге Моря Ясности, два — на севере и востоке Моря Кризисов, три — в горных районах, разделяющих Моря Ясности и Спокойствия (рис. 4).

Рис. 4. Карта эпицентров лунотрясений (кружки — приливные, крестики — тектонические, малый кружок — число лунотрясений менее 5 % от общего, средний — менее 10 %, большой — более 20 %, полый кружок — глубина не определена, залитый на четверть — глубина 500–600 км, залитый наполовину — менее 600–700 км, залитый полностью — 700–900 км, заштрихованный кружок — очаг на обратной стороне Луны). Треугольниками с соответствующими номерами показаны сейсмические станции «Аполлонов»


Все приливные лунотрясения происходят глубоко в недрах Луны. Об этом свидетельствуют четкие фазы поперечных волн, большая амплитуда первых вступлений, меньшее время нарастания амплитуд по сравнению с сейсмическими явлениями ударного происхождения, относительно простая форма сигнала в интервале между вступлениями продольных и поперечных волн. Очаги располагаются на глубинах 400–900 км, однако >85 % из них приходится на более узкий интервал — 600–800 км. Стабильность формы записей лунотрясений из одного очага (для одной станции) означает, что размеры очаговой зоны не более 10–20 км. Зона эпицентров приливных лунотрясений имеет сложный рельеф. Намечается подъем очагов в северной, южной и центральной частях первого сейсмического пояса. Во втором поясе расположены самые глубокие очаги, причем западная половина имеет большие глубины. В целом максимальные глубины очагов приходятся на приэкваториальный район (в том числе очаг с обратной стороны Луны), а минимальные соответствуют центральной части юго-западной четверти видимой стороны Луны[3].

В последовательности приливных лунотрясеиий наблюдается строгий порядок — увеличение числа лунотрясений через 13, 27 и 206 земных суток. Предполагается также еще более продолжительная (6-годичная) изменчивость количества приливных лунотрясений, которая успела проявиться лишь в самой длинной серии наблюдений — на станции «Аполлона-12». Максимальное число лунотрясений произошло в первой половине 1970 г., затем наблюдался плавный спад активности, в 1972 г. Луна была наиболее пассивной. Следующий подъем сейсмичности ожидался в 1976 г. (рис. 5).

Рис. 5. Связь периодичности лунотрясений (нижний рис.) с либрацией Луны (верхний рис.). Горизонтальная шкала — календарь, вертикальная внизу — амплитуды лунотрясений, вверху — широта ближайшей к Земле точки на поверхности Луны


Наблюдаемая периодичность лунотрясений может быть расшифрована, исходя из закономерностей вращения и движения Луны в гравитационных полях Земли и Солнца. Орбита Луны является едва ли одной из самых сложных планетарных орбит. Луна вращается вокруг Земли по эллипсу со средним расстоянием 384 тыс. км и со средним эксцентриситетом орбиты 0,05. Период ее обращения равен 27, 32 земных суток, за это же время совершается полный оборот Луны с запада на восток вокруг оси. Лунный экватор имеет небольшой наклон к эклиптике и к лунной орбите. В системе Земля — Луна действуют приливообразующие силы, и вследствие конечно. вязкости планет имеет место диссипация приливной энергии. Кроме того, гравитация Солнца вызывает периодические вариации лунной орбиты, проявляющиеся в изменении эксцентриситета и расстояния Земля — Луна в перигее. В результате всего этого возникает характерная особенность — физическая либрация Луны, осложняющая ее движение и вращение. Она имеет широтную компоненту с периодом 6 лет и долготную — 206 суток.

Первоначально при изучении приливных лунотрясений казалось, что их толчки приурочены к моментам апогея и перигея Луны на орбите вокруг Земли. По мере накопления данных выяснилось, что картина сложнее: пики сейсмической активности сдвинуты в соответствии с периодами либрации Луны. В то же время семимесячный максимум сейсмической активности привязан к наибольшему эксцентриситету лунной орбиты.

На основании всего сказанного ни один из исследователей сейсмичности Луны сейчас не сомневается во внешней, космической природе приливных лунотрясений — роль «спускового механизма» в них играют силы притяжения Земли и Солнца.

Проблема прогноза планетотрясений, столь сложная и важная на Земле, на Луне решается просто — «расписание» приливных лунотрясений можно составить исходя из законов небесной механики. Так, например, отмечена зависимость момента сейсмического толчка в соответствующем эпицентре от положения на поверхности Луны точки, лежащей на прямой, соединяющей центры масс Земли и Луны.

Итак, приливные лунотрясения можно предсказать, но настолько ли это важно? Ведь они чрезвычайно слабы и неопасны, и, в частности, будущим конструкторам лунных городов и ракетодромов не потребуется вводить в свои расчеты поправки на сейсмостойкость сооружений. Возможный механизм приливных лунотрясений мы обсудим несколько позже, после изложения результатов геофизических исследований недр Луны.

Тектонические лунотрясения. Сейсмический эксперимент на Луне был ориентирован в основном на регистрацию тектонических лунотрясений, поэтому станции устанавливались в районах контакта крупномасштабных поверхностных структур. Однако за все время наблюдений было зафиксировано лишь 11 толчков, возможно имеющих тектоническую природу. Но несмотря на малое их количество, они поднимают общую сейсмическую энергию лунотрясений на несколько порядков (до 1015 эрг).

Первая характерная особенность подобных событий — высокочастотность их записей (по этому признаку они резко отличаются как от приливных лунотрясений, так и от ударов метеоритов) (см. рис. 2). Вступления продольных и поперечных волн очень четкие, что указывает на малое рассеяние волн вблизи источника. Наклон «кривых повторяемости» (0, 5) много меньше, чем у приливных и тепловых лунотрясений, и ближе к землетрясениям. Энергия тектонических лунотрясений на несколько порядков выше, чем у приливных лунотрясений; их магнитуда достигает 4. Записи тектонических лунотрясений (наряду с ударами крупных метеоритов) использованы для изучения глобальной скоростной структуры Луны.

Все выявленные тектонические лунотрясения оказались вне сети лунных сейсмических станций на расстояниях больше 600 км: 10 из 11 были зафиксированы всеми станциями, для 4 из 11 определены лишь азимут и расстояние, для 7 — координаты (с точностью 5°). Все эпицентры расположены на периферии границы видимой и обратной сторон Луны: 9 — на видимой, 2 — на обратной (без явной связи с поверхностными структурами). Подобно приливным тектонические лунотрясения не обнаружены в юго-восточной четверти видимой стороны Луны. Они не регулярны, их форма записи не повторяется. Глубина очагов определена неточно, по характеру записи одного из сильных тектонических лунотрясений получена нижняя оценка глубины его очага — 300 км, в то же время очаги находятся глубже рассеивающего слоя коры мощностью 25 км.

Сейсмическая разведка верхней части разреза. Во время экспедиций «Аполлонов» были проведены сейсмические исследования структуры недр разного масштаба: сейсморазведка верхней части разреза, зондирование коры и сейсмическое «просвечивание» мантии. Первое детальное исследование скоростей продольных волн в лунном грунте было проведено в районе Фра-Мауро во время экспедиции «Аполлона-14». Три сейсмометра записали постукивание астронавтов по грунту на расстоянии 100 м. Более дальние точки были получены при взлете лунной кабины и с помощью специальных гранат, взорванных после отлета астронавтов по команде с Земли.

Похожий эксперимент был проведен астронавтами «Аполлона-16» в континентальном районе кратера Декарт. Были изучены глубины до 200 м. Наконец, во время экспедиции «Аполлона-17» в районе Тавр-Литтров удалось «осветить» строение верхних слоев до глубины 1,5 км. По записям на сейсмологических станциях падений космических аппаратов были определены скорости распространения поперечных сейсмических волн.

В результате всех исследований установлено, что верхняя часть Луны состоит из отдельных слоев, в которых скорость сейсмических волн скачкообразно увеличивается с глубиной. Верхние два слоя имеют свойства, сходные в различных регионах, удаленных друг от друга и сложенных разными породами. Это объясняется их одинаковым происхождением: разброс обломков при ударах крупных метеоритов и их последующее дробление мелкими. Характеристики лунного грунта (реголита): мощность — 2 — 12 м, скорость продольных волн — 90 — 115 м/с, скорость поперечных волн — 35–37 м/с, отношение скоростей продольных и поперечных волн — 2,7–2,9, коэффициент Пуассона [4] — 0,42 — 0,43, плотность — 1,5–1,6 г/см3, пористость — более 50 %. В слое обломочного материала (брекчий): мощность — 18–38 м, скорость продольных волн — 300 ± 50 м/с, отношение скоростей — 2,2–2,4, коэффициент Пуассона — 0,37 — 0,40, плотность — 1,7–1,8 г/см3. По сравнению с грунтом Земли лунный имеет очень низкие скорости и высокое отношение скоростей (большой коэффициент Пуассона).

Зондирование коры. Лунная кора была изучена в юго-восточной части Океана Бурь, где на расстоянии 180 км находились сейсмические станции «Аполлона-12 и -14». При этом использовался довольно необычный (для Земли) способ возбуждения упругих волн — сбрасывание отработанных отсеков космических кораблей. Экспедиции «Аполлонов» производили на поверхности Луны по два сейсмических толчка. Первый, когда третья ступень ракеты «Сатурн-5» весом более 14 т направлялась по команде с Земли в заданную точку поверхности Луны. При почти вертикальном падении со скоростью у поверхности 2,5 км/с возбуждались сейсмические волны такой силы, как при взрыве 10 т тротила. Второй толчок был вызван, когда взлетная ступень после возвращения экипажа в основной отсек была сброшена вблизи соответствующей сейсмической станции. При массе 2,4 т, скорости у поверхности 1,7 км/с и «пологой» траектории подлета к поверхности удар лунной кабины был эквивалентен взрыву 800 кг тротила.

Сеть лунных сейсмических станций зарегистрировала 9 таких «искусственных» ударов, а также один естественный — от падения метеорита весом более 1 т, который «удачно» упал (13 мая 1972 г.) в 140 км к северу от сейсмической станции «Аполлона-14». Всего было получено 14 сейсмограмм, из них 9 на расстоянии источник-приемник 67 — 358 км и 5 на расстоянии 850 — 1100 км (рис. 6, а). Сейсмические записи анализировались в соответствии с методами, принятыми в практике земного глубинного сейсмического зондирования коры. В связи с недостаточной точностью наблюдений и погрешностями в определении на сейсмограммах времен вступлений волн скоростное строение коры Луны определено с некоторым приближением. В верхней трети коры скорость продольных сейсмических волн быстро нарастала от значений 100 м/с в реголите до 4,5–5,0 км/с на глубине 10 км и 5,5–5,8 км/с на глубине 20 км.




Рис. 6. Сейсмические исследования лунной коры (а — сводка сейсмограмм, б — годограф):

1 — первые вступления; 2 — последующие вступления; 3 — кратные волны, цифры на годографе — кажущиеся скорости волн; в — варианты скоростного разреза коры (толстые линии) и полоса, включающая все возможные разрезы (тонкая линия); разной штриховкой показаны скорости в породах:

1 — лунные морские базальты; 2 — лунные анортозиты; 3 — земные габбро; 4 — пироксены; 5 — оливины; 6 — гранаты


В нижней части коры скорость сейсмических волн остается почти стабильной — 7,0 км/с. Однако возможно стабильность лишь кажущаяся, ведь нижние слои коры даже в случае более детальных наблюдений на Земле «освещаются» настолько неточно, что подчас трудно отличить слабое увеличение скорости сейсмических волн от ее плавного уменьшения (рис. 6, в).

В мантии Луны скорость сейсмических волн возрастает скачком до значений 8 км/с и более. Граница кора-мантия, аналогичная границе Мохоровичича на Земле, еще не получила на Луне своего наименования. Характер перехода от коры к мантии оставался невыясненным, пока к анализу времен пробега волн не прибавили анализ их амплитуд и спектров. Всплески волн в последующей части записи, опознанные как отражения от границы кора-мантия, показали, что это, собственно, не граница, а переходный слой толщиной от 3–4 до 10–12 км. В некоторых интерпретациях предполагается резкое увеличение скорости внутри коры от 5,8 до 6,8 км/с на глубине 25 км.

Когда сейсмическая волна, превышая первую космическую скорость (для Земли), проникает в лунную мантию, загадок прибавляется. На расстоянии 340–360 км от сейсмических станций скорость ее пробега 9 км/с, а на удалениях порядка 1000 км — только 7,7 км/с (рис. 6, б). Быть может, здесь из-за малой интенсивности волн потеряны самые первые вступления, а, может быть, граница кора-мантия имеет наклон. Данных пока мало, чтобы выбрать тот или иной вариант. Поэтому и объяснение может быть двояким. Либо высокоскоростной блок в верхах лунной мантии существует только на юго-востоке Океана Бурь, либо во всем регионе Фра-Мауро — Апеннины — Декарт в самой верхушке мантии имеется высокоскоростной «козырек». Его толщина, судя по амплитудам волн, не превышает 40 км.

В последнее время на ранее прочитанных сейсмограммах с помощью специальных методов удалось дополнительно выделить вступления поперечных волн. Времена их пробега в коре соответствуют отношению скоростей 1,72 и величине коэффициента Пуассона, равной 0,25, что типично для компактных кристаллических пород.

Сейсмические скорости и добротность мантии. Энергии волн от ударов космических аппаратов хватает из то, чтобы прозондировать Луну только до 150 км. Глубже сейсмическую «эстафету» принимают крупные метеориты, тектонические лунотрясения и очаг приливных лунотрясений с обратной стороны Луны. Такая основа для построения модели мантии не слишком надежна: место., глубина и момент сейсмического явления известны с большими погрешностями.

Первые интригующие сведения о глубинной сейсмической структуре центральной части Луны принесли записи удара метеорита с массой около 1 т, угодившего 17 июля 1972 г. в кратер Москвы на обратной стороне Луны. Удар «качнул» сейсмометры всех станций сети «Аполлон». Однако на записях тех из них, «по дороге» к которым сейсмические волны проникали глубже 800–900 км, поперечных волн не оказалось. Этот важный феномен был подтвержден 12 приливными лунотрясениями из очага на обратной стороне близ экватора. Наконец, на последней VII Лунной конференции в Хьюстоне в марте 1976 г. было сообщено об аналогичном явлении при сейсмическом «просвечивании» Луны из района южного полюса, где произошло одно из самых интенсивных мелкофокусных лунотрясений.

Общепризнанным является следующее. Примерно на середине радиуса Луны свойства ее вещества резко изменяются — глубже не проходят или очень сильно ослабевают поперечные волны. И опять возможны разные объяснения — или увеличивается поглощение поперечных волн, или скачком уменьшается скорость и образуется «зона тени», в которой энергия волн ослабевает.

Анализом результатов сейсмических исследований Луны заняты многие ученые разных стран. Ведущая роль принадлежит одноименным лабораториям Земли и планет Техасского университета (во главе с Г. Латемом) и Массачусетского технологического института (во главе с Н. Токсоцом). Эти исследовательские группы по-разному подходят к оценке скоростной структуры глубоких недр Луны.

Г. Латем и его сотрудники по 20 сейсмограммам с записями четырех мелкофокусных тектонических лунотрясений и двух удаленных ударов метеоритов построили зависимости времен пробега продольных и поперечных воли от расстояния (годографы) (рис. 7). При внимательном анализе этих зависимостей на удалении 2600 км было замечено небольшое запаздывание времени вступления продольной волны и несколько больше — для поперечной. Это объяснено существованием сейсмической границы на глубине 200–300 км, разделяющей верхнюю и среднюю мантию Луны.

Рис. 7. Глобальные лунные годографы продольных (Р) и поперечных (S) волн


Верхняя мантия характеризуется постоянной или слегка убывающей скоростью как продольных, так и поперечных волн; при этом их отношение такое же, как и у компактных кристаллических земных пород.

В средней мантии скорость распространения сейсмических волн уменьшается скачком, в особенности скорость поперечных, так что их соотношение отвечает очень большому коэффициенту Пуассона (0,36). Глубина границы определяется не очень точно, но ее резкость, т. е. скачкообразное изменение скорости, подтверждается волнами от глубоких лунотрясений. На этой границе изменяется характер колебания частиц в сейсмической волне — продольная волна превращается в поперечную, поперечная — в продольную (в средней мантии скорость распространения поперечных волн продолжает уменьшаться с глубиной).

На глубине 800–900 км начинается— нижняя мантия, или «астеносфера» Луны, переход к ней постепенный — отраженных от ее поверхности волн не зафиксировано.

Данных о центральной части Луны пока крайне мало. На московской встрече советских и американских исследователей Луны в июне 1974 г. Г. Латем сообщил важный результат: на записи удара метеорита на расстоянии 168° продольные волны опаздывали на 57 с. Это может означать, что на глубине 1380–1570 км скорость распространения продольных волн упала до 4–5 км/с. На VII Лунной конференции новых подтверждений этого факта не представлялось, так что существование внутреннего ядра в Луне пока не доказано (рис. 8).

Рис. 8. Скоростная модель лунных недр по Латему (1) и Токсоцу (2). У правой шкалы ординат показаны ограничения на размер ядра из сернистого железа (FeS) и чистого железа (Fe)


Ученые Массачусетского технологического института полагают, что для детального расчленения мантии Луны данных пока мало, и ограничиваются средними оценками скоростей распространения сейсмических волн (см. рис. 8). Они. разработали процедуру определения средних скоростей сейсмических волн в толще мантии над очагом приливного лунотрясения. При этом для улучшения отношения сигнал-шум проводилось суммирование стабильных по форме записей сейсмических толчков.

В районе Моря Познанного до глубины 880 км средняя скорость распространения продольных волн в мантии Луны — 7,9 км/с, поперечных — 4,4 км/с; их отношение — 1,8, коэффициент Пуассона — 0,3. В юго-восточной части Моря Дождей средние сейсмические характеристики мантии до глубины 920 км сходные: скорость распространения продольных волн — 8,1 км/с, поперечных — 4 0 км/с, их отношение 2,0, коэффициент Пуассона — 0,33.

Сейсмические наблюдения позволяют определить не только скорости распространения продольных и поперечных волн, но и меру близости реального вещества к модели идеальной упругости — степень поглощения энергии за счет необратимых тепловых потерь на пути пробега сейсмических волн. Такой мерой служит добротность — безразмерная величина, обратная коэффициенту затухания — аналогичная добротности радиосхем: чем она выше, чем дольше звучание.

Сейсмическая добротность лунных пород оценивалась несколькими способами: лабораторным (измерения на образцах, помещенных в вакуум), теоретическим (сравнение сейсмограмм с расчетами), экспериментальным (измерение закона убывания амплитуд на сейсмограммах). В последнем методе рассматривалось ослабление амплитуд сейсмической записи в зависимости от времени, расстояния и частоты. Различные определения дали согласующиеся результаты. По новым данным, выделяется слоистая структура Луны по сейсмической добротности.

В верхнем слое (реголите) величина добротности для продольных волн 100–300, в рассеивающем слое коры — 3000–5000, во всей 500-километровой толще литосферы — 5000 (по некоторым определениям — 7000 — 10 000), глубже добротность падает до значения 3500 (на глубине 600 км), 1400 (950 км) и 1100 (1200 км). В астеносфере Луны добротность по продольным волнам не превышает 500.

По амплитудам поперечных волн сейсмическая добротность верхней 300-километровой толщи оценивается величиной 4000, в слое 500–800 км она уменьшается до 1500, в астеносфере падает еще в 10–15 раз.

Селенофизические поля

Лунные масконы. Детальное изучение поля силы тяжести Луны стало возможно после выведения космических спутников на орбиту искусственных спутников Луны. Наблюдения за орбитами спутников велись с помощью трех наземных станций.

По изменению частоты спутникового передатчика определялись так называемые «лучевые ускорения» — проекции ускорения силы тяжести на направление Земля — спутник (для центральной части видимой стороны Луны эти ускорения соответствовали вертикальной составляющей).

Первые построения картины гравитационного поля Луны были проведены советскими исследователями по результатам полета космического аппарата «Луна-10», в дальнейшем данные уточнялись по наблюдениям за орбитами искусственных спутников серии «Лунар Орбитар», а также на тех участках трасс космических кораблей «Аполлон», где их орбиты вокруг Луны определялись лишь полем ее силы тяжести.

Гравитационное поле Луны оказалось сложнее и неоднороднее земного, поверхность равного потенциала силы тяжести более неровная, и источники аномалий расположены ближе к поверхности Луны. Существенной особенностью лунного поля силы тяжести явились крупные положительные аномалии, приуроченные к круглым морям, которые были названы масконами (от английского — «концентрация масс»). При подлете к маскону скорость спутника возрастает; после пролета спутник слегка притормаживается, при этом высота орбиты меняется на 60 — 100 м.

Вначале были обнаружены масконы в морях видимой стороны: Дождей, Ясности, Кризисов, Нектара, Влажности; их размеры достигали 50 — 200 км (они укладывались в контуры морей), а величины аномалий составляли 100–200 мгал[5]. Аномалия Моря Дождей соответствовала избытку массы порядка (1,5–4,5) х 10-5 массы всей Луны.

Впоследствии были открыты более массивные масконы на границе видимой и обратной сторон в Морях Восточное и Краевое, а также огромный маскон в экваториальной зоне центра обратной стороны Луны. В этом месте моря нет, поэтому маской назван «Скрытым». Его диаметр более 1000 км, масса в 5 раз превышает избыточную массу Моря Дождей. Скрытый маскон способен отклонить на 1 км спутник, летящий на высоте 100 км. Суммарная избыточная масса, соответствующая положительным аномалиям силы тяжести. превышает 10-4 массы Луны. Ряд отрицательных аномалий оказался связанным с лунными горами: Юра, Кавказ, Тавр, Алтай.

Аномалии силы тяжести отражают особенности распределения масс вещества в недрах Луны. Если, например, допустить, что масконы создаются точечными массами, то глубины их залегания должны составлять в Море Дождей около 200 км, в Море Ясности — 280 км, Кризисов — 160 км, Спокойствия — 180 км, Изобилия — 100 км, Познанном — 80 км, Океане Бурь — 60 км. Таким образом, измерения силы тяжести обнаружили неоднородное распределение плотности в верхней мантии.

Электропроводность. Ни одна из лунных экспедиций не провела непосредственных измерений электрического поля Луны. Оно было рассчитано по вариациям магнитного поля, зарегистрированного магнитометрами на станциях «Аполлона-12, -15, -16» и «Луноходе-2».

Луна, лишенная магнитосферы, при своем вращении вокруг Земли периодически оказывается в полнолуние в невозмущенной земной магнитосфере, в новолуние — в солнечном ветре и дважды по 2 дня — в переходном. ударном слое.

Флуктуации внешнего межпланетного магнитного поля проникают в Луну и индуцируют в ней поле вихревых токов. Время нарастания индуцированного поля зависит от распределения электропроводности в лунных недрах. Одновременные измерения внешнего переменного поля над Луной и вторичного поля на поверхности позволяют вычислить лунную электропроводность.

Луна устроена «удобно» для магнитно-теллурического зондирования. Межпланетное магнитное поле, вытянутое из Солнца, однородно, фронт его можно считать плоским, а потому для исследования не нужна, как на Земле, сеть лабораторий. Благодаря тому что Луна имеет более высокое электрическое сопротивление, чем Земля, для ее зондирования достаточно двух часовых наблюдений, тогда как на Земле нужны годовые.

Обтекающий Луну солнечный ветер, имеющий высокую проводимость, как бы окутывает Луну фольгой, не выпуская на поверхность индуцированные в недрах поля. Поэтому на солнечной стороне Луны можно использовать лишь горизонтальную компоненту переменного магнитного поля, тогда как на ночной стороне, где работает и вертикальная компонента, ситуация больше похожа на земную.

Магнитометрами «Аполлонов» была зарегистрирована реакция Луны в солнечном ветре на ночной и дневной сторонах, а также в геомагнитном шлейфе, где сведены к минимуму плазменные эффекты солнечного ветра.

В кратере Лемонье на солнечной стороне Луны на «Луноходе-2» было зафиксировано становление во времени флуктуации солнечного магнитного поля. При этом горизонтальная компонента магнитного поля отражает глубинную электропроводность Луны, а величина вертикальной компоненты на большом времени характеризовала напряженность внешнего поля Луны. Экспериментальный график кажущегося сопротивления интерпретировался путем сравнения с теоретическими кривыми.

Советскими (Л. Л. Ваньян и другие) и зарубежными (К. Сонет, П. Дайел и другие) исследователями построены различные модели электропроводности Луны, Отличаясь в некоторых деталях, они дают в общем сходные распределения электрических свойств лунного материала с глубиной: в верхних 200 км находится плохопроводящий слой с удельным сопротивлением более 106 ом · м; глубже залегает слой пониженного сопротивления (103 ом · м) мощностью 150–200 км, до 600 км сопротивление возрастает на порядок и далее опять убывает до 103 ом · м на глубине 800 км (рис. 9).

Рис. 9. Глубинная структура Земли (толстые линии) и Луны (тонкие) по геофизическим данным:

1 — скорости продольных волн; 2 — скорости поперечных волн; 3 — электропроводность. Вертикальная шкала — глубины по отношению к соответствующим радиусам Земли и Луны


Проведенные к настоящему времени электрические зондирования Луны выявляют следующие основные особенности:

Луна в целом имеет более высокое сопротивление, чем Земля. Сверху ее находится мощный изоляционный слой; с глубиной электропроводность растет. Обнаружено радиальное расслоение Луны и намечается неоднородность в горизонтальном направлении по электрическому сопротивлению.

По профилям электропроводности и зависимости проводимости от температуры оценена температура внутри Луны для разного состава мантии. Во всех случаяхдо глубины 600–700 км температура лежит ниже температуры плавления базальтов, а на больших глубинах достигает или превышает ее.

Сопоставление глубинных температур с температурами плавления пород при различных давлениях позволило ученым оценить такой важный физический параметр, как коэффициент вязкости. Он характеризует способность горных пород перемещаться под действием напряжений.

Верхняя 200 — 300-километровая оболочка Луны имеет очень большой коэффициент вязкости 1026 — 1027 пуаз[6]. Это на 2–3 порядка выше, чем на соответствующих глубинах Земли, даже если брать самые жесткие регионы древних кристаллических щитов. От поверхности к центру Луны вязкость падает; глубже 500 км она уменьшается в 100 — 1000 раз, т. е. становится соизмеримой с вязкостью мантии Земли. В астеносфере Луны вязкость резко уменьшается до значений, свойственных астеносфере Земли (1020 — 1021 пуаз).

Тепловой поток. До полетов космических кораблей считалось, что содержание радиоактивных элементов 235U, 238U, 232Th, 40K в недрах Луны в среднем такое же, как в хондритовых метеоритах или в мантии Земли. Тепловой поток, идущий из недр Луны через ее поверхность, оценивался по аналогии с соответствующим потоком Земли, где ежесекундно через каждый 1 см2 поверхности «улетучивается» в космос 1,5 — 10-6 калл тепла. Радиус Луны в 3,6 раза меньше, чем Земли, ее поверхность составляет 7,5 %, а объем — 2 % земного. При условии одинаковости концентрации радиоактивных изотопов в единице объема для Луны предсказывалось значение теплового потока 0,36 · 10-6 калл/см2с.

В 1964 г. советские астрономы во главе с В. С. Троицким измерили тепловое излучение Луны в диапазоне длин волн от 1 мм до 3 см и получили неожиданно высокое значение среднего теплового потока (0,85 — 0,95) 10-6 ккал/см2с, почти втрое превышающее расчетное. Это могло свидетельствовать о более высоком содержании радиоактивных изотопов или о том, что источники тепла сконцентрированы вблизи поверхности.

Неожиданный результат был подтвержден непосредственным измерением теплового потока на Луне. Прямые измерения теплового потока на лунной поверхности были проведены в двух экспедициях астронавтов на Луну: в июле 1971 г. в районе Хэдли Рилл на восточном краю Моря Дождей («Аполлон-15») и в декабре 1972 г. в районе Тавр-Литтров в узком заливе на юго-востоке Моря Ясности («Аполлон-17»). Астронавты пробурили скважины, вставили фиброгласовые трубки и поместили в них термозонды для измерения температуры и теплопроводности. Каждый зонд обеспечивал измерение на 11 глубинах и состоял из 8 платиновых термометров сопротивления и 4 термопар. Было установлено 2 зонда на глубинах 1 и 1,4 м на станции «Аполлона-15» и один на 2,3 м — на «Аполлоне-17». Отсчеты передавались на Землю каждые 7 мин. Обработаны данные за 3,5 года по первой и за 2 года по второй станциям. Сигналы начинали анализироваться лишь через месяц после запуска приборов, когда установилось их тепловое равновесие с реголитом. Несмотря на огромные тепловые контрасты на поверхности (+130 °C днем, — 170 °C ночью), температурные флуктуации практически затухали на глубине 0,8 м. тогда как годовые колебания температуры ощущались на всех исследованных глубинах. Для измерения теплопроводности лунного грунта по команде с Земли на 36 ч были включены электронагреватели. По тому как росла температура, определяли величину теплопроводности. Теплопроводность реголита оказалась очень низкой и сильно зависящей от температуры. У поверхности она составляла лишь 0,3 · 10-5 ккал · (см · К)-1, глубже по мере уплотнения она возрастала, достигая на глубине 1–2 м значений ~0,24 · 10-4 ккал · (см · К)-1, в 250-метровом верхнем слое теплопроводность, по-видимому, остается очень низкой, на 2–3 порядка меньше, чем в недрах Луны, в 10 раз меньше, чем в прекрасном теплоизоляторе — воздухе, и в 40 раз меньше, чем в воде. Таким образом, реголит Луны, образовавшийся в результате перемалывания обломочных пород ударами метеоритов, представляет своеобразное «одеяло», играющее для Луны роль термостата и уменьшающее потерю ее тепла. Например, при образовании Моря Дождей обширные прилегающие территории были покрыты обломочными породами. Благодаря этому за последние 100 млн. лет температура на глубине 25 км должна была подняться с 300 до 480 °C. По величине теплопроводности и по перепаду температур был рассчитан тепловой поток, проходящий через поверхность Луны. Его значения для района Апеннин — 0,53 · 10-6 ккал · (см2 · с)-1, в районе Декарта — 0,38 · 10-6 ккал · (см2 · с)-1. Различие на 40 % превосходит погрешности измерений, эффект местного рельефа и характеризует горизонтальную изменчивость содержания радиоактивных изотопов в лунной коре.

Физика лунных недр

Планетарные особенности. Задолго до космических полетов были рассчитаны масса, средняя плотность, радиус Луны, ее вращение и параметры орбиты. У планет Солнечной системы, как правило, несколько спутников с относительно небольшими массами. Луна у Земли единственная, относительная ее масса большая (1/83 массы Земли), расстояние от Земли равно 60 земным радиусам.

Луна вращается вокруг Земли по слабо вытянутому эллипсу с периодом, совпадающим со временем ее обращения вокруг собственной оси (и поэтому Луна всегда повернута к Земле одной стороной). Лунные сутки почти равны земному месяцу — 27,3 земных суток.

Видимая фигура Луны — сфера с радиусом 1738 км (в 3,6 раза меньше земного). Благодаря вращению Луна слегка сплющена, ее точная фигура — трехосный эллипсоид, но оси отличаются мало. Полярный радиус на 2 км меньше среднего, а направленный к Земле — вследствие ее притяжения на 1 км больше. Взаимное притяжение Земли и Луны вызывает сложное приливное взаимодействие, влияющее на структуру и тектонику обоих небесных тел.

Существенная особенность Луны — центр масс смещен от геометрического на 3 км к Земле и на 1 км влево (если смотреть с Земли). Рельеф поверхности также асимметричный: на видимой стороне он на несколько километров ниже уровенной поверхности, на обратной — выше. Максимальный размах рельефа поверхности Луны достигает 14 км, а самая высокая вершина не уступает Джомолунгме.

Астрономические измерения момента инерции Луны показали, что он близок к однородной сфере (0,4), одно время даже казалось, что плотность в недрах Луны слегка уменьшается к центру. Позже выяснилось, что такой инверсии плотности на Луне нет, но рост ее с глубиной невелик. Об этом же свидетельствует тот факт, что средняя плотность Луны (3,34 г/см3) близка к плотности образцов лунной коры и практически равна плотности минералов, слагающих верхнюю мантию Земли. Все это свидетельствует об относительной однородности строения Луны по сравнению с Землей. Земля имеет огромное плотное ядро, так что ее момент инерции (0,33) намного меньше, чем у однородной сферы, а средняя плотность (5,54 г/см3) существенно больше, чем у пород мантии.

Последние космические исследования установили слоистую внутреннюю структуру Луны. Она состоит из отдельных различающихся физическими свойствами оболочек (кора, мантия, проблематичное ядро), только отличия эти не такие резкие, как у Земли.

Многие планетарные свойства Луны отличаются от Земли. На Луне отсутствует атмосфера, гидросфера, биосфера. Нет стабильного дипольного магнитного поля. В то же время поток тепла из недр неожиданно велик, что может свидетельствовать о завершении процесса выделения коры из вещества мантии и концентрации в ней всех радиоактивных элементов.

Неравновесность, асимметричность фигуры Луны, смещение центра масс, равно как аномалии гравитационного и других селенофизических полей, указывают на горизонтальную неоднородность структуры Луны. Рассмотрим устройство лунных недр по оболочкам.

Лунная кора. Как и на Земле, на Луне имеется кора» отделенная от мантии резкой границей. Толщина лунной коры в юго-восточной части Океана Бурь (60–65 км) такая же, как в горах Памира или Гималаях и больше не только океанической (7 — 10 км), но и континентальной земной коры (40 км) (рис. 10). Лунная кора составляет одну тридцатую часть размеров Луны, и таким образом, по отношению к радиусу планеты она в 5 раз толще средней земной коры.

Рис. 10. Сравнение скоростных моделей Луны (1 — пример разреза; 2 — полоса возможных моделей) и Земли (3 — континент; 4 — зона перехода; 5 — океан)


Сейсмические измерения, дающие наиболее точные оценки мощности коры, проведены пока лишь в Океане Бурь. По другим, в особенности гравиметрическим, данным можно заключить, что мощность коры в разных районах различная: в восточном полушарии, а также на обратной стороне Луны кора в несколько раз мощнее, чем в западном. Возможно, что в районе масконовых Морей Кризисов и Ясности более плотное подкоровое вещество залегает ближе к поверхности, здесь толщина коры уменьшается до 70–80 км.

Различие физических свойств пород коры в разных районах отмечается не только по скоростям сейсмических волн и плотностям пород — они по-разному намагничены и имеют разную электропроводность.

Они делятся на два типа: темные базальты «морей» и светлые богатые плагиоклазами и алюмосиликатами габбро-анортозиты континентов. В земных лабораториях измерены скорости упругих волн в образцах лунных пород. В результате их сравнения с сейсмическими скоростями высказаны предположения о составе пород коры. Можно думать, что первозданная лунная кора сложена габбро-анортозитами — продуктом разделения исходного вещества Луны. Кстати, анортозиты относятся к числу самых древних пород и на Земле. На континентах Луны кора однослойная, на морях имеется базальтовый слой. Возможно, базальты слагают 25-километровую толщу, и увеличение скорости на 1 км/с объясняется здесь сменой химического состава коры — переходом от базальтов к габбро-анортозитам. Такая мощность базальтов получается, если предположить, что различие в рельефе морей и континентов Луны (в среднем 4 км) компенсируется массой более плотных базальтов, так что на некоторой глубине наступает равновесие: вес столба вышележащих пород на морях и континентах оказывается одинаковым.

Однако многие геологи сомневаются, что базальтовый слой, образовавшийся при глубинных излияниях лавы в результате раздробления и пробоя коры метеоритами, может быть таким мощным. Судя по результатам активного сейсморазведочного эксперимента в районе посадки «Аполлона-17», уже на глубине 1,5 км скорости пробега сейсмических волн такие, как в образцах окружающих гор Тавр. В таком случае вся остальная толща коры анортозитовая, быстрый рост скорости в верхнем слое объясняется уплотнением пород, а ее скачок на глубине 25 км означает полное закрытие трещин при критическом давлении 1 кбар. Кстати, ведь именно такая мощность рассеивающего слоя получается при анализе затухания амплитуд на лунных сейсмограммах.

Необычное по сравнению с Землей явление представляет и весь верхний слой коры толщиной до 25 км. Он отличается очень малой электропроводностью (этот своеобразный «изолятор» способствует успеху электромагнитных зондирований), низкой теплопроводностью (такой «термостат» помогает Луне остывать не слишком быстро), малыми величинами, но быстрым ростом скоростей сейсмических волн, большой скоростной неоднородностью (разрушающей сейсмические сигналы) и слабым затуханием сейсмической энергии (отсюда долгий «сейсмозвон» и сверхдальнее распространение сейсмических волн).

Под корой залегает лунная мантия. Граница между ними резкая — в мантии заметно увеличиваются скорости пробега сейсмических волн (8–9 км/с для продольных и 4,7 км/с для поперечных волн) и плотность (3,3–3,4 г/см3 по сравнению с 2,8–2,9 г/см3 для коры). Такая четкая граница на Луне единственная (тогда как на Земле существует еще более резкая — между мантией и внешним ядром). Она объясняется изменением химического состава вещества. Мантия Луны, как и Земли, судя по соотношению скоростей сейсмических волн и плотности, сложена ультраосновными породами, в которых по сравнению с корой мало окислов кремния и много железа и магния. Главные породообразующие минералы здесь — оливин и пироксен.

Высокоскоростной «козырек», обнаруженный в верхах мантии района Фра-Мауро, может означать, что примерно четверть количества оливина перешло в более плотную разновидность того же состава — шпинель. Возможно и другое объяснение: ери давлениях и температурах, свойственных лунным глубинам 60 — 100 км (до 5 кбар и до 300 °C), образуется устойчивая плотная разновидность граната, отличающаяся высокой скоростью сейсмических волн.

Литосфера. Планетарной особенностью глубинной структуры Луны является ее разделение на мощную жесткую, холодную внешнюю сферу и разогретую, частично расплавленную и пластичную внутреннюю область. Внешняя оболочка Луны названа по аналогии с Землей литосферой — здесь сравнимые с Землей термодинамические условия: давление 35–40 кбар и температура порядка 1200 °C (ниже температуры плавления базальтов). Однако достигаются эти условия на глубинах (800–900 км), во много раз превышающих мощность литосферы Земли — 50–70 км под океанами, 100–200 км под континентами (рис. 11). В. целом литосфера Луны — это литосфера Земли, типертрофированная по мощности, жесткости и сейсмической добротности. Она так жестка, что миллиарды лет удерживает масконы, и так добротна, что волны от слабых лунотрясений «просвечивают» ее насквозь.

Рис. 11. Структура Земли и Луны в шкале давлений


В лунной литосфере выделяется несколько слоев: кора, верхняя мантия (до 200–300 км), средняя мантия (до 500–600 км), переходный слой (до 800–900 км). Верхняя (мантия сложена очень плотными компактными кристаллическими породами ультраосновного состава. Сейсмическая добротность как по продольным, так и по поперечным волнам, а также вязкость вещества на 2–3 порядка превосходит соответствующие параметры в литосфере Земли. В отличие от Земли, где скорости сейсмических волн в литосфере в среднем растут. На Луне они растут только в коре, а в верхней мантии остаются постоянными или слегка ослабевают. Это объясняется тем, что влияние температур (до 500–600 °C) превосходит эффект давления (15 тыс. атм, что соответствует низам земной коры платформенных областей).

Из 250-километровой толщи оливинов верхней мантии, как это следует из теоретических геохимических расчетов, могла выплавиться полевошпатовая кора мощностью 50–60 км.

В средней мантии Луны происходит скачкообразное уменьшение скорости продольных, и в особенности поперечных волн. За счет этого резко увеличивается упругий параметр — коэффициент Пуассона. Высокий коэффициент Пуассона означает уменьшение компактности пород, приближение их к аморфному состоянию. Его значение для средней мантии (0,35) такое, как в лунном реголите, а также глиноподобных веществах. Эта особенность средней мантии Луны позволяет некоторым сейсмологам полагать, что здесь находится первозданное метеоритное вещество, которое никогда полностью не переплавлялось.

В средней мантии до глубины 500–600 км продолжает все более заметно уменьшаться скорость поперечных волн, а также сейсмическая добротность. Давление здесь 25 кбар (как на границе кора — мантия в горных районах Земли) и температура 1000–1100 °C (как в районе Байкальского рифта).

Гидростатистическая неуравновешенность фигуры и смещение центра масс свидетельствуют о существовании горизонтальной неоднородности структуры Луны, прежде всего в ее литосфере. Аномалии силы тяжести над круглыми морями Луны могут быть вызваны блоками вещества повышенной плотности, залегающими в верхней мантии Луны.

Горизонтальная неоднородность плотностей приводит к возникновению напряжений, которые и вызывают тектонические лунотрясения на глубинах 25 — 300 км. Эти напряжения (100–200 кг/см2) в десятки раз меньше горизонтальных сил, определяющих тектоническую активность литосферы Земли, поэтому тектонические лунотрясения столь слабы по сравнению с землетрясениями.

Еще большие неоднородности намечаются в низах средней мантии. Этот слой, по существу, можно выделить как особый слой перехода от литосферы к центральной зоне Луны. Здесь, в интервале глубин от 600 до 800–900 км, сохраняется высокий коэффициент Пуассона и происходит резкое изменение физических свойств вещества Луны: на 2 порядка уменьшается электрическое сопротивление, в 3 раза уменьшается добротность для продольных волн и в 100 — 1000 раз — вязкость. Переход от литосферы к центральной зоне происходит постепенно. Поэтому на записях лунотрясений отсутствуют фазы волн, отраженных от подошвы литосферы.

К переходной зоне приурочены очаги приливных лунотрясений. Большой разброс глубин очагов и их концентрация в двух узких «сейсмических швах» планетарного размера подчеркивают сложный характер перехода от литосферы к астеносфере Луны и неоднородность строения этой зоны. Повторяемость формы записи и малая энергия приливных лунотрясений увязываются с представлением о том, что средняя мантия Луны состоит из однородных блоков относительно небольшого размера.

В свете новых знаний о глубинном строении Луны картина подготовки лунотрясений выглядит так. Под действием сил притяжения Земли и Солнца в Луне возникают большие перепады приливных напряжений. Они концентрируются на контакте жесткой внешней и разогретой внутренней зон Луны. Этому способствует сложный, контрастный рельеф переходной зоны. Возможно, положение эпицентров лунотрясений отражает направление конвективных потоков вещества в астеносфере.

В моменты увеличения притяжения Луны Землей и Солнцем в переходную зону импульсами впрыскиваются горячие флюиды и газы. Они образуют своего рода «смазку», которая в дальнейшем облегчает движения блоков по разрыву в момент лунотрясения. Размеры очагов, интервалы между сотрясениями и их энергия неплохо согласуются в рамках теории, описывающей процесс землетрясения как быстрое «вспарывание» трещин в ослабленных зонах. На Луне разрывы происходят в пределах однородных блоков плохо сцементированного материала. Поэтому от толчка к толчку так хорошо сохраняется форма колебаний в волнах из каждого очага. Из-за малых размеров блоков сотрясения не получаются большими. А их «расписание» полностью регулируется гравитационной «указкой» Земли и Солнца. Не успевают напряжения накопиться, как поступают очередные импульс напряжений и «смазка» из астеносферы — происходит слабое лунотрясение. Приливные силы Земли заставляют Луну сотрясаться часто и слабо, не давая ей накопить силы для мощного толчка.

Астеносфера и проблема ядра Луны. Внутренняя зона Луны обнаружена по резкому ослаблению энергии поперечных волн на глубинах более 800–900 км. Это соответствует уменьшению сейсмической добротности поперечных волн до величины 100–200 и продольных волн — до 500. Эффектом отсутствия поперечных волн внутренняя зона Луны напоминает внешнее ядро Земли, которое на основании этого кардинального факта считается эффективно жидким (известно, что поперечные волны не распространяются в воде). Однако она названа «астеносферой», потому что в ней давление (более 35 тыс. атм) и вязкость (1020–1021 пуаз) такие же, как в астеносфере Земли на глубинах 100–150 км. По-видимому, астеносфера Луны частично расплавлена, капли базальта в перидотите[7] плавятся при соответствующем давлении при температуре 1450–1550 °C. В астеносфере Земли также имеет место частичное плавление зерен базальта, однако поперечные волны через нее проходят, хотя скорость их падает, и энергия ослабевает. Эта разная реакция на распространение поперечных волн объясняется существенно разной мощностью астеносферы в Земле и Луне и их различной ролью в тектонической жизни этих небесных тел. Астеносфера Земли имеет толщину 100–200 км, что составляет 1/301/60 часть ее радиуса; астеносфера Луны в 10 раз мощнее, она занимает половину лунного радиуса. А если учесть, что глубже лунной астеносферы нет твердого сейсмически добротного материала, как на Земле, то оказывается, что поперечные волны в Луне долго движутся в неблагоприятных условиях, поэтому они не могут «пробиться» сквозь центральную зону на, противоположную сторону Луны.

В астеносфере Луны, как и Земли, возможны конвективные потоки частично расплавленного вещества, однако их скорость (0,1 см/год) и действие существенно иные. Они не в состоянии расколоть или передвинуть глыбы литосферного монолита, их силы хватает лишь на то, чтобы произвести в нижние горизонты литосферы инъекции разогретого вещества, на которые планета откликается слабыми сейсмическими «щелчками».

Современные представления о структуре центральной зоны Луны сугубо ориентировочные. Уменьшение скоростей продольных волн до значений 3,6–5,2 км/с не противоречит предположению о существовании в центре Луны железо-сульфидного ядра радиусом 200–400 км. Ограничение на размеры ядра дает величина относительного момента инерции Луны, которая измерена с высокой точностью (0,395 ± 0,05). Расчеты показывают, что для модели с корой, имеющей плотность 3 г/см3, и однородной мантией (плотность 3,43 г/см3) момент инерции должен быть 0,399. В случае железо-сульфидного ядра с радиусом 700 км момент инерции уменьшится до 0,391. Если же ядро чисто железное, то оно не скажется на величине момента инерции при радиусе не более 450 км. Низкие скорости продольных волн в центре Луны нельзя объяснить металлизацией силикатов мантии, для этого здесь слишком малые давления (не более 50 тыс. атм) и температуры (до 2000 К). В центре Земли температура почти такая, как на поверхности Солнца (6000 К), а давление в несколько миллионов раз больше атмосферного (3,5 · 106 атм).

Интересно посмотреть на недра Земли и Луны, сравнив их в едином масштабе глубин, т. е. отношение глубин слоев к радиусу планеты (рис. 12). Тогда наблюдается совпадение относительных глубин основных планетарных оболочек. На глубине 0,05 относительных радиусов происходит самое резкое увеличение скоростей сейсмических волн. На Луне это соответствует переходу от коры к мантии, на Земле — началу перехода от верхней к нижней мантии. На половине радиуса начинается область, где исчезают поперечные волны. При этом на Луне состав вещества, по-видимому, остается мантийным, т. е. преобладают ультраосновные силикаты. На Земле же это связано скорее всего с изменением химического состава. Наконец, в обоих небесных телах обнаружена внутренняя сфера с относительным радиусом 0,2, в основном состоящая из железа.

Рис. 12. Основные оболочки Земли и Луны


Эволюция и тепловое состояние Луны. Данные о составе, состоянии и физических свойствах лунных пород, собранные по крупицам в сложных и рискованных экспедициях, несмотря на известную ограниченность этих данных, позволяют сделать важные, пусть предварительные, заключения об основных этапах и направленности эволюции Луны.

Большинство исследователей сходятся в том, что Луна образовалась достаточно быстро, и начальная температура ее была высокой. По мнению ученых из Института физики Земли АН СССР, тело Луны скомпоновалось в околоземном «спутниковом рое» 4,5 млрд. лет назад, вскоре после того, как сама Земля возникла из холодных газовых и пылевых частиц протопланетного облака. Этим объясняется наблюдаемый дефицит железа и легкоплавких элементов в Луне по сравнению с Землей.

Определения мощности лунной коры и литосферы, эффект «пропадания поперечных волн» в ее центральной зоне, величина теплового потока и отсутствие планетарного магнитного диполя позволяют судить о нынешнем состоянии недр Луны. Возраст самых древних (4,15 млрд. лет) и самых молодых (3 млрд. лет) пород, время выплавления морских базальтов (3,75 -3,15 млрд. лет) и высокая остаточная намагниченность пород свидетельствуют о далеком планетарном прошлом Луны.

Реконструкция тепловой истории Луны проводится многими исследователями путем решения на электронно-вычислительных машинах уравнений теплопроводности. При этом задаются перечисленные граничные условия и оцениваются начальная температура Луны, концентрация радиогенных элементов, плотность, теплоемкость, теплопроводность, а также изменчивость этих физических констант во времени.

По-видимому, основная направленность планетарного «жизненного» процесса на Луне (равно как на Земле и других планетах земной группы) состоит в расслоении изначально однородного тела планеты на оболочки: легкую кору, мантию, тяжелое ядро.

Закат Солнца на Луне 4,5 млрд. лет назад не был таким величественно-спокойным, как теперь. Светило погружалось в плещущий «океан» расплавленных горных пород. Град метеоритов сыпался в него, приводя к перемешиванию, дегазации, закалке и переплавлению материнского вещества Луны. В расплавленной оболочке в планетарном масштабе совершалось фракционное разделение фаз — формировались кора и мантия Луны. При этом радиоактивные элементы концентрировались в коре, обусловливая высокий тепловой поток, породы коры обогащались кальцием и алюминием (образовывались анортозиты), в мантии преобладали окислы железа и магния (пироксены и оливин).

Период магматической активности Луны длился не более 1,5 млрд. лет. Постепенно внешняя оболочка Луны, остывая снаружи, затвердевала, мощность литосферы наращивалась примерно на 200 км каждый миллиард лет.

По-видимому, в конце первого миллиарда лет возникло центральное расплавленное ядро. Возможно, в нем действовал саморегулирующийся механизм «электромагнитного динамо»; свидетельство его былой силы-высокая палеонамагниченность лунных пород, его жидкие «останки» видимо подсекли сейсмические волны вблизи центра Луны.

По мере остывания внешней корки и продолжения метеоритной бомбардировки 4,4–4,1 млрд. лет назад образовался типичный лунный кратерный рельеф. Трещины от ударов метеоритов протягивались в кору на десятки километров, а реголит имел гигантскую мощность — несколько километров.

Со временем частота падений космических тел на Луну сокращалась, но напоследок, 4,1–3,9 млрд. лет назад, произошли катаклизмы, оставившие неизгладимый след на поверхности в виде гигантских котловин — Больших Бассейнов. Самые древние из них (как Море Спокойствия) имеют неправильную форму, неглубокое днище и не содержат избытка или дефицита масс. А относительно молодые (Моря Дождей, Кризисов и т. д.) — круглые, глубокие, «масконовые». Похоже, что 4 млрд. лет назад что-то переменилось в механических свойствах коры, быть может, завершились подъем и кристаллизация расплавов оболочки.

Последняя глава активной эндогенной жизни Луны — затопление Больших Бассейнов видимой стороны ныне «замерзшими» морями темных базальтов. Базальты поднимались из недр, где распад радиоактивных элементов обеспечивал необходимую для их расплава температуру. Излияния носили скорее всего импульсный характер и были приурочены к местам коры, раздробленным и ослабленным падением метеоритов. Благодаря различиям состава и температуры недр в разных регионах Луны период заполнения морских бассейнов базальтами затянулся от 3,8 до 3,0 млрд. лет. Отсутствие морей на обратной стороне Луны может объясняться как большей мощностью ее коры, так и тем, что притяжение Земли направляло метеориты на всегда обращенную к ней сторону Луны.

На Луне 3 млрд. лет назад воцарилось относительное спокойствие. Столь древний образ космического мира подарила Луна исследователям последнего 18-летия (рис. 13).

Рис. 13. Основные этапы эволюции (верх) и распределение температуры во времени (низ) по Токсоцу:

1 — дифференциация с образованием коры; 2 — образование анортозитов; 3 — магматическая активность, метеоритная бомбардировка; 4 — образование Больших Бассейнов; 5 — заполнение «морей» базальтами (косая штриховка — зона частичного плавления веществ, клетка — зона полного плавления)


В настоящее время Луна исчерпала свои «жизненные» тектонические ресурсы. Процесс разделения ее вещества давно завершен. Луна остывает — излучение тепла через поверхность превосходит его генерацию в недрах. Если тепловой поток за все время существования Луны был соизмерим с теперешним, то она потеряла энергию ~1036 эрг, которая превышает энергию разделения по плотности и теплосодержание вещества в состоянии полного плавления и соизмерима с энергией гравитационной связи Луны.

На Земле картина иная: суммарные теплопотери здесь меньше энергии гравитационной дифференциации, в результате которой образовалось железное ядро Земли.

Возможно, ключ к пониманию тепловых различий режимов планет кроется в их «способности» превращать тепло в другие виды энергии. Общая энергия, выделяемая в год землетрясениями, всего лишь на 2–3 порядка меньше теплопотерь Земли. С учетом КПД «тепловой машины» получается, что Земля «умеет» превращать тепло в механические движения при землетрясениях и других тектонических процессах.

На Луне все иначе: менее одной миллиардной части ее тепловыделений превращается в сейсмическую энергию — остальное «улетучивается» в космос бесполезно для селенотектоники. Тектоническая «жизнь» Луны «парализуется» мощной жесткой холодной литосферой. В ее разогретой астеносфере могут существовать конвективные потоки вещества, но они слабы и недостаточны, чтобы расколоть или передвинуть литосферу и лишь в состоянии вызвать слабые потрескивания на контакте с ней. К тому же давление и температура ее недр недостаточны для фазовых превращений минералов, которые на Земле служат мощным источником ее активности.

Строение наружного покрова Луны

Представления о строении покрова Луны до 1966 г. Первые сведения о структуре и физических свойствах покрова Луны были получены в результате наземных измерений ее оптического, теплового и радиоизлучений. Ведущая роль в наземных исследованиях покрова Луны принадлежала советским астрономам Н. П. Барабашову, А. В. Маркову, В. С. Троицкому, В. Г. Фесенкову, В. В. Шаронову, начавшим исследования физических свойств покрова Луны задолго до космических полетов. Эти исследования прежде всего обнаружили необычный характер отражения света поверхностью Луны, который можно было объяснить только чрезвычайной ее изрытостью. Интерпретация и моделирование полученных оптических характеристик лунной поверхности позволили сделать фундаментальный вывод о том, что наружный слой (несколько миллиметров) покрова Луны обладает столь высокой пористостью, какой не обладает ни один из земных грунтов. Подобную пористость имеют лишь искусственные губкообразные материалы с очень тонкими непрозрачными стенками, а также материалы, напоминающие мох со сложной ветвистой структурой. Этот вывод на долгие годы был положен в основу многих гипотез о возможном строении покрова Луны. Исследования инфракрасного излучения Луны показали, что его теплопроводность в сотни раз меньше теплопроводности земных горных пород и подтвердили вывод о высокой пористости уже более толстого (до 10 см) наружного слоя покрова Луны. Оценка свойств покрова Луны на еще большую глубину впервые была сделана В. С. Троицким и его сотрудниками. Путем регистрации радиоизлучения Луны они установили, что средняя плотность покрова Луны постепенно увеличивается. Так, на глубине до 4 см она может быть принята равной 0,6 г/см3, на глубине до 3 м — 1 г/см3, на глубине до 6 м— 1,5–2 г/см3. Эти данные относились ко всему диску Луны.

Физические свойства поверхности Луны использовались для разработки гипотез о строении покрова Луны. Однако в результате различного понимания процессов формирования покрова Луны и характера воздействия на него внешних (экзогенных) и внутренних (эндогенных) факторов данные наземных наблюдений по разному интерпретировались и привели к различным представлениям о строении покрова Луны.

Преобладающими были гипотезы о чрезвычайно пористом, пенистом, но твердом, как бы застывшем лавовом покрове Луны (В. С. Троицкий, Г. Койпер). Существовала также гипотеза о ноздреватом, губчатом строении покрова Луны, сложенного из спекшегося шлака (Н. Н. Сытинская), о рыхлом зернистом покрове (Н. П. Барабашов). В то же время упорно отстаивалась гипотеза пылевого покрова Луны, чрезвычайно рыхлого на глубину в несколько километров (Т. Голд).

Ожидалось, что детальное фотографирование поверхности Луны с помощью космических аппаратов снимет эти противоречия. В США в 1964–1965 гг. был проведен запуск серии аппаратов «Рейнджер», которые передавали телевизионные изображения поверхности Луны вплоть до их удара о поверхность Луны. На снимках, полученных с высоты вплоть до 300 м от поверхности, можно было различить детали с размерами до 0,5 м (тогда как на снимках с Земли наименьший размер составлял 300 м).

Однако анализ многочисленных (десятки тысяч) изображений не привел к однозначным представлениям о строении покрова Луны: несмотря на единство взглядов о высокой пористости покрова Луны, мнения о его прочности оставались существенно различными.

Так, например, в 1965 г. на конференции, организованной НАСА, возникли резкие разногласия по вопросу о несущей способности верхнего покрова Луны и ее зависимости от глубины. Названную Г. Койпером величину 1 кгс/см2 большинство участников конференции считали завышенной и предлагали ее снизить на 2–3 порядка.

Стала очевидной необходимость применения надежных инженерных методов определения механических свойств грунтов. Но для проведения этих исследований, в свою очередь, было необходимо осуществить мягкую посадку на Луну.

Определение физико-механических свойств наружного покрова Луны. Физико-механические характеристики необходимы были прежде всего для решения таких первоочередных технических проблем, связанных с освоением Луны, как обеспечение мягкой посадки на Луну и передвижения по ее поверхности. Важное научное значение этих характеристик состоит также в том, что они могут быть использованы в качестве геологических показателей условий формирования и существования покрова Луны.

Первые рекогносцировочные эксперименты были выполнены с помощью советских автоматических станций «Луна-9» и «Луна-13» и американских автоматических аппаратов серии «Сервейер». Выдающимся научно-техническим достижением стало осуществление мягкой посадки на Луну.

Впервые эту посадку совершила советская автоматическая станция «Луна-9».

В связи с тем что прочность покрова Луны, по существу, не была известна, конструкция станции «Луны-9» позволяла осуществить ее посадку как на весьма слабые пылевые грунты, так и на высокопрочные скальные горные породы (рис. 14).

Рис. 14. Схема посадок станции «Луна-9»:

1 — торможение лунной ракеты и наполнение газом эластичных мешков посадочного устройства; 2 — автоматический аппарат в посадочном устройстве на поверхности Луны; 3 — эластичные мешки после разделения; 4 — автоматический аппарат после отделения эластичных мешков (перед раскрытием антенн)


Общие представления о механических свойствах лунного грунта в месте посадки «Луны-9» были получены благодаря успешной мягкой посадке, которая показала, что грунт достаточно прочен для того, чтобы выдержать первый удар станции, находящейся в амортизационной оболочке, а также второй — при освобождении металлического контейнера из амортизаторов.

Первые приборы для измерения свойств покрова Луны были установлены на станции «Луна-13», которая опустилась на поверхность Луны в Океане Бурь 24 декабря 1966 г. Станция была оборудована тремя приборами для определения механических свойств грунта: пенетрометром, радиационным гамма-плотномером и динамографом. Последний был жестко укреплен внутри корпуса станции и измерял ускорения, возникавшие в процессе соударения станции с поверхностью Луны. Пенетрометр и плотномер были после посадки автоматически установлены на поверхность грунта в 1,5 м от корпуса станции.

Пенетрометр с помощью реактивного двигателя твердого топлива осуществил погружение в лунный грунт индентора и измерил возникающее сопротивление грунта.

Радиационный гамма-плотномер, предназначенный для определения плотности лунного грунта, состоял из блока датчиков, который автоматически устанавливался на поверхность грунта (рис. 15) и регистрирующего блока, находившегося внутри корпуса станции. Принятая схема прибора предусматривала облучение поверхности грунта потоком гамма-квантов от радиоактивного источника — цезия-137 и регистрацию рассеянного излучения, интенсивность которого зависит от плотности покрова Луны.

Рис. 15. Блок датчиков гамма-плотномера, с помощью которого были проведены первые физические измерения на поверхности Луны


Исследования показали, что грунт в месте посадки по своему взаимодействию с применяющимся аппаратом ближе всего подходит к несвязному грунту средней плотности. Он состоит из зернистого слабосвязного материала. Средняя плотность верхних 15 см грунта не менее 0,8 г/см3, сцепление в пределах верхних 5 см составляло около 0,005 кгс/см2, а несущая способность равнялась 0,68 кгс/см2.

Значительный вклад в определение прочности покрова Луны дали эксперименты, выполненные на американских станциях «Сервейер» в 1966–1968 гг. Интересные данные были получены на основе анализа динамики соударения аппаратов с грунтом, из опытов по автоматическому рытью траншеек (глубиной до 18 см). Полученные результаты в основном совпали и подтвердили результаты измерений, проведенных на «Луне-13».

Исследования физико-механических свойств покрова Луны в отдельных точках ее поверхности подготовили возможность высадки на Луну космонавтов и передвижения по ней транспортных средств.

В 1969–1972 гг. на Луну была произведена высадка шести экспедиций американских космонавтов в рамках программы «Аполлон». В общей сложности космонавты находились на Луне около 300 ч, из них примерно 80 ч они работали непосредственно на ее поверхности вне корабля «Аполлон».

Для исследования покрова Луны космонавты использовали геологическое и буровое снаряжение, фото— и кинокамеры. В комплект геологического снаряжения входили: лопатка, решетчатые совок и захват, геологический молоток и удлинительная ручка к ним, а также трубчатые грунтоносы для отбора образцов грунта и их — герметизации, щетка для очистки образцов, объединенная с лупой и разметчиком образцов, пружинные весы. Для сбора образцов использовались мешочки из тефлона и герметичный контейнер для них, а также специальные контейнеры, обеспечивающие сохранение высокого вакуума в течение длительного времени.

Для бурения скважин (диаметром 25 мм на глубину до 3 м) применялся ручной электрический колонковый бур. Рабочий орган бура мог одновременно вращаться, совершая 300 об/мин и наносить удары по забою скважины (2270 ударов в минуту). Масса бура на Луне составляла 1,96 кг, и для повышения эффективности космонавт должен был налегать на него своей тяжестью.

В экспедиции «Аполлона-14» впервые был использован простой ручной пенетрометр, представлявший собой алюминиевый стержень длиной 680 мм, диаметром 9,5 мм с заточенным нижним концом. Стержень был окрашен кольцами шириной 2 см для визуальной оценки глубины погружения и определения прочности грунта. Пенетрометр нагружался вручную.

В экспедициях «Аполлона-15 и -16» применялся пенетрометр с самописцем, который вычерчивал кривую зависимости глубины погружения от нагрузки.

В первых экспедициях научное оборудование и снаряжение космонавты переносили вручную. В экспедиции «Аполлона-14» они использовали ручную тележку, а в экспедициях «Аполлона-15, -16 и -17» они перемещались на вездеходах.

Большой интерес для оценки свойств покрова Луны имеют наблюдения космонавтов за особенностями своего передвижения и работой, связанной с погружением геологических инструментов.

Экипаж «Аполлона-11» высадился в Море Спокойствия на плоской равнине, усеянной многочисленными мелкими кратерами. На поверхности лежало много камней, комков и обломков горных пород размером до 80 см. На поверхности лежал коричневато-серый, слегка связный зернистый грунт, крупность зерен которого соответствует мелкому или пылеватому песку. Зерна прилипали к обуви подобно угольной пыли.

По внешнему виду грунта трудно было оценить его несущую способность. Отмечалась совершенно неожиданная разница в глубине следов и рыхлости грунта в пунктах, неразличимых друг от друга на глаз. Возможно, это было связано с разной толщиной рыхлого слоя.

Следы имели четкие кромки и не нарушали грунта вне своего очертания. Однако иногда отмечались растрескивание и взбугривание прилегающей поверхности грунта, что говорит о большей первоначальной плотности. Комки, встречающиеся на поверхности, были очень похожи на камни. Они легко разрушались под ногой, так как состояли из слипшихся между собой частиц.

Средняя глубина следа космонавта была около 1 см. Наибольшая (15–20 см) была отмечена при ходьбе по рыхлому грунту, из которого состоят валы кратеров.

Экспедиция «Аполлона-12» проводила исследования в типично морском районе Луны (в Море Познанном), сходном по своему характеру с районом, где работала предыдущая экспедиция, но находящимся от нее на расстоянии около 1,5 тыс. км. Грунт был в месте посадки черный, пылевато-песчаный с включением более крупных зерен. Глубина слоя пыли была значительно больше, чем в районе посадки «Аполлона-11». Ноги космонавтов местами глубоко погружались в пыль, и та налипала на все предметы, которыми они пользовались.

Космонавты занесли много запыленных предметов внутрь кабины и заметили, что после пребывания в атмосфере кислорода при давлении 0,35 кгс/см2 в течение нескольких дней пыль отстала от поверхности предметов.

Экспедиция «Аполлона-14» высадилась в материковом районе, покрытом огромным количеством кратеров. Грунт оказался исключительно мягким и мелкозернистым, напоминая порошок талька, окрашенный в коричневый цвет.

При рытье траншейки были вскрыты следующие слои: верхний зернистый темно-коричневый, толщиной 3–5 см; следующий за ним слой из черных стекловатых частиц — 0,5 см или меньше. Ниже лежал более светлый крупнозернистый материал. Погружение грунтоносов проходило значительнотруднее, чем в предыдущей экспедиции. Грунт плохо держался внутри грунтоносов и частично высыпался при их извлечении. Пенетрометр погрузился на глубину до 70 см.

Экспедиция «Аполлона-15» высадилась на местности, где толщина слоя пыли оказалась равной 15–30 см, т. е. значительно больше, чем в местах первых экспедиций. На склонах около 10° космонавтам было трудно удерживать равновесие, и они не раз падали.

Экспедиция «Аполлона-16» исследовала район плоскогорья у кратера Декарт. Участок посадки оказался загроможден большими обломками горных пород. Отмечалось очень большое количество пыли.

Экспедиция «Аполлона-17» высадилась на местности, густо покрытой кратерами мелких размеров. Местами встречался очень рыхлый грунт, в котором следы космонавтов достигали глубины 20 см. При поездке на вездеходе очень мешала пыль, от ее абразивного действия стерся слой резины на рукоятке геологического молотка, и начали протираться перчатки.

В этой экспедиции впервые участвовал геолог-астронавт — Г. Шмитт. Им были обнаружены отложения шариков, состоящих из оранжевого и черного стекла специфического химического состава, указывавшего на их возможное вулканическое происхождение. Г. Шмитт пишет, что «только уникальный в научном отношении характер района экспедиции «Аполлона-17», где встречались как наиболее древние, так и самые молодые геологические формации, мог смягчить печаль от сознания того, что полетом этой экспедиции заканчивались исследования по программе «Аполлон».

На экспедиции «Аполлонов» затрачено 25 млрд. долл., каждый новый полет обходился почти в 0,5 млрд. долл. Экспедиции космонавтов пришлось прекратить, как указывали руководители НАСА, по финансовым соображениям. Программа дальнейшего изучения Луны с помощью пилотируемых полетов в США была отложена.

Советская программа космических исследований предусматривала систематическое и планомерное изучение Луны с использованием автоматических исследовательских станций. При этом намечалось расширение исследований с помощью самоходных станций «Луноход», позволяющих вести длительные исследования на протяженных трассах, охватывающих большие площади поверхности Луны. Другая серия автоматических станций типа «Луна» предназначалась для бурения в глубь покрова Луны и доставки образцов лунного грунта.

В 1970–1973 гг. были проведены эксперименты с участием самоходных научных лабораторий «Луноход-1 и -2». Путешествие «Лунохода-1» началось 17 ноября 1970 г. и продолжалось 332 дня. За это время «Луноход-1» прошел свыше 10 км. По всей трассе движения «Лунохода-1» проводились систематические исследования покрова Луны. На Землю было передано около 25 тыс. снимков поверхности и более 200 панорам. В результате сфотографировано 500 тыс. м2 лунной поверхности, а 80 тыс. м2 детально обследовано.

На «Луноходе-1» был установлен комплекс научной аппаратуры, в том числе прибор для прямого измерения механических свойств лунного грунта. Эти измерения проводились по всей трассе движения через каждые 15–30 м пути. Непрерывно измерялись и использовались для оценки свойства покрова Луны параметры взаимодействия ходовой части «Лунохода-1» с грунтом Луны.

16 января 1973 г. началось путешествие «Лунохода-2» в восточной окраине Моря Ясности, в районе кратера Лемонье. В этой экспедиции в течение 4 месяцев исследовалась переходная зона от лунного моря к материку. В условиях сложного рельефа были проведены исследования по трассе протяженностью 37 км.

Следует напомнить, что «Луноход» представляет собой автоматический аппарат, управляемый с Земли и рассчитанный на длительный срок работы в условиях лунной среды и пересеченной местности.

Ширина колеи «Лунохода» 160 см, колесная база 170 см, диаметр колеса по грунтозацепам 51 см, ширина обода 20 см, масса «Лунохода» 576 кг. Давление на грунт при глубине колеи 3 см составляет 0,05 кгс/см2.

Физико-механические свойства грунта определялись независимо тремя методами.

Первый метод — это прямое определение механических характеристик грунта с помощью пенетрометра (рис. 16). Этот прибор смонтирован на ходовой части «Лунохода». Рабочей частью пенетрометра «Лунохода» служит конус с крестообразными лопастями. Под действием специального механизма конус автоматически вдавливался в грунт и затем поворачивался вокруг своей продольной оси, что позволяло измерять сопротивление лунного грунта сжатию и сдвигу.

Рис. 16. Общий вид автоматического прибора ПРОП, с помощью которого проведено более 1000 измерений механических характеристик реголита по трассе движения «Луноходов»


Другим методом определения механических свойств грунта являлась непрерывная регистрация во время движения «Лунохода» так называемых тягово-сцепных характеристик. Для этого на «Луноходе» установлена система датчиков, позволявших измерять угол наклона поверхности, величину крутящего момента для каждого колеса, скорость его вращения, величину пробуксования.

Оценка свойств грунта производилась также путем изучения следов «Лунохода», что позволяло судить о структуре грунта и его прочности.

По всей трассе движения «Луноходов» верхний слой покрова Луны был сложен мелкозернистым грунтом. Под колесами «Лунохода» обычно происходило уплотнение грунта, иногда с выпиранием его в стороны, с образованием трещин, сколов и комков. Обычно следы «Луноходов» имели крутые неосыпающиеся стенки, что указывало на наличие заметных сил сцепления. Девятое ненагруженное колесо, служившее для измерения пройденного пути, образовывало колею глубиной 0,5–1 см без выпирания грунта в стороны, что свидетельствовало о наличии на поверхности рыхлого слоя пылевидного, легко деформируемого рыхлого грунта.

По результатам работы пенетрометра была определена несущая способность верхнего слоя покрова Луны толщиной от 5,0 до 10 см (несущая способность определялась как удельное давление на конус при глубине внедрения, равной высоте конуса). Сопротивление вращательному срезу измерялось как отношение максимального крутящего момента на крыльчатке к моменту сопротивления суммы площадей среза. Кроме того, несущая способность оценивалась по следам девятого колеса.

При уплотнении грунта повторным вдавливанием несущая способность и сопротивление сдвигу значительно увеличивались. Следует отметить, что всего по трассе движения «Луноходов-1 и -2» было проведено свыше 1000 прямых измерений механических свойств покрова Луны, что позволило выявить его неоднородность, прежде всего связанную с характером местности и рельефа.

Рис. 17. Кривые зависимости нагрузки и глубины погружения в реголит конусно-лопастного штампа, установленного на «Луноходе-1»:

1 — на горизонтальном участке; 2 — на кольцевом валу кратера; 3 — на склоне кратера; 4 — на поверхности, усеянной мелкими камнями


На рис. 17 показаны типичные кривые внедрения пенетрометра, соответствующие горизонтальному участку, склону и валу кратера, а также участку, покрытому мелкими камнями. Во всех случаях несущая способность на валу кратера была заметно ниже, чем на склоне и горизонтальном участке кратера.

Были встречены участки, где наблюдалось не обычное увеличение несущей способности с глубиной, а ее снижение, что свидетельствовало о залегании более рыхлых слоев под плотными. Такие участки обладали повышенной просадочностью.

Рис. 18. Характер статистического распределения несущей способности реголита на одном из участков трассы «Лунохода-1»


Наиболее вероятное значение несущей способности по трассе движения «Лунохода-1» составило 0,34 кгс/см2 (рис. 18). Несущая способность самого верхнего слоя грунта равнялась 0,02 — 0,03 кгс/см2. Наиболее вероятное сопротивление вращательному сдвигу было 0,048 кгс/см2, при изменениях по трассе движения — от 0,02 до 0,09 кгс/см2.

«Луноход-1» позволил провести исследования отдельных камней. Наряду с достаточно прочными камнями было встречено много камнеподобных образований — больших комьев, которые легко раздавливались и рассыпались при наезде на них.

По трассе движения были также участки, где на поверхности встречались выходы твердых горных пород или твердое основание было прикрыто очень тонким слоем разрыхленного грунта (~10 см).

Исследования покрова Луны, проведенные экспедициями астронавтов и «Луноходами», показали существенное отличие строения верхнего покрова Луны от строения какого-либо земного грунта, а также обнаружили большую изменчивость физико-механических свойств лунного грунта.

Необходимо было развить исследования как изучением более глубоких слоев грунта, так и детальным наземным анализом строения и состава лунного грунта. Следует отметить, что лабораторные наземные исследования позволяют использовать более многообразную и сложную технику измерений, пока еще недоступную для прямых измерений на месте. В настоящее время только сочетание прямых исследований на Луне и лабораторных исследований на Земле позволяет проникнуть в природу тонких механических и физико-химических процессов, обусловливающих специфику строения покрова Луны, в том числе особенности физико-механических свойств лунного грунта.

Для бурения покрова Луны и для доставки образцов лунного грунта в Советском Союзе в 1970–1976 гг. проведен запуск автоматических станций «Луна-16, -20 и -24».

«Луна-16» совершила посадку на Луну 20 сентября 1970 г. в Море Изобилия. «Луна-20» опустилась на Луну 21 февраля 1972 г. в материковом районе с трудным для посадки рельефом, возле кратера Аполлоний. Автоматическая станция «Луна-24» опустилась на Луну 18 августа 1976 г. в юго-восточном районе Моря Кризисов.

Места посадки автоматических станций «Луна-16, -20 и -24» были выбраны так, чтобы доставленная на Землю серия образцов могла бы помочь составить представление о характерном регионе Луны, включающем в, себя морской, материковый и переходной участки поверхности Луны.

Так, например, место отбора пробы станцией «Луна-24» расположено вблизи восьмикилометрового кратера метеорного происхождения, и выбросы из него должны присутствовать в образцах, доставленных «Луной-24».

Автоматические станции «Луна-16 и -20» имели одинаковые буровое оборудование и грунтозаборное устройство, позволившие им взять пробу лунного грунта с глубины до 35 см. Грунтозаборное устройство станции «Луна-24» обеспечило бурение и взятие пробы грунта с глубины до 2 м.

Грунтозаборное устройство автоматических станций «Луна-16 и -20» состояло из бурового станка; штанги, на которой он укреплен, и приводов, перемещающих штангу в вертикальном и горизонтальном направлениях. Рабочим органом станка служило буровое устройство, предназначенное для бурения и отбора керна в горных породах как твердых, так и рыхлых.

По окончании бурения пробоотборник извлекался из грунта и вводился вместе с образцом грунта в специальный контейнер автоматического герметического аппарата, возвращаемого на Землю.

Следует отметить, что, помимо решения главной задачи — отбора и доставки пробы грунта, автоматическое бурение на Луне позволяло провести оценку прочности пробуриваемого грунта. Так, например, процесс отбора пробы станцией «Луна-20» показал, что, несмотря на меньшую плотность грунта в месте бурения и однородность структуры доставленного на Землю керна, грунт на поверхности Луны выявил неоднородность своей прочности.

Одновременно с отбором образцов лунного грунта советскими автоматическими станциями привезли на Землю образцы лунных пород американские космонавты.

Наряду с фундаментальными исследованиями состава, происхождения и эволюции Луны доставленные образцы лунного грунта используются и для изучения их физико-механических характеристик.

Поскольку физико-механические характеристики обусловливаются не только строением покрова Луны но и условиями, в которых он находится, их изучение необходимо было провести в специальных установках обеспечивающих изоляцию от земной атмосферы и создание при испытаниях условий, моделирующих лунную среду.

Для изучения физико-механических свойств лунного грунта использовалась специальная приемная камера исследовательский бокс и универсальная камера ТОР-1 (рис. 19), позволившие определить комплекс характеристик грунта. В качестве примера на рис. 20 приведены результаты испытаний на пенетрацию лунного грунта и земных грунтов-аналогов.

Рис. 19. Общий вид измерительных узлов вакуумной универсальной установки ТОР-1, используемой для комплексных наземных измерений физико-механических характеристик лунного грунта. Стрелкой указано место, куда помещается образец грунта


Рис. 20. Изменение сопротивления пенетрации (Rn) лунного грунта и земных грунтов-аналогов в зависимости от изменения их коэффициента пористости (е):

1 — лунный грунт; 2 — андезито-базальтовый вулканический песок; 3 — молотый базальт; Не 20° — испытания в атмосфере гелия при нормальном давлении и температуре + 20 °C; Не 140° — испытания в атмосфере гелия при нормальном давлении и температуре + 140 °C; Vac — испытания в вакууме


Современное представление о реголите. Весь лунный шар покрыт рыхлым слоем раздробленных горных пород. Этот слой назван реголитом. Он сформировался в результате переработки коренных горных пород внешними (т. е. экзогенными) факторами. Главным экзогенным факторам, ответственным за формирование реголита, является метеоритная бомбардировка. Установлено, что в среднем масса твердых межпланетных частиц выпадающих на поверхность Луны, составляет 4 · 10–14 г/см2 · с. Метеоритная бомбардировка, сопровождающаяся ударно-взрывными явлениями, взрыхляет и перемешивает грунт Луны по глубине и по площади одновременно происходят физико-химические превращения частиц грунта, их переплавление, спекание, уплотнение. Уплотнению и спеканию способствует высокий вакуум, существующий у поверхности Луны.

На лунную поверхность оказывают влияние солнечная и галактическая корпускулярная радиация, а также солнечное электромагнитное излучение.

По современным представлениям Луна находится свыше 2–3 млрд. лет в тектоническом покое и, по-видимому, нет активных внутренних (эндогенных) факторов, которые могли бы существенно влиять на условия формирования и существования реголита. Поэтому равномерное действие на поверхность экзогенных факторов обусловило похожее строение и структуру реголита по всему лунному шару и в целом усреднило физико-механические характеристики лунного грунта. Это подтверждено прямыми экспериментами, проведенными на поверхности Луны. Наблюдавшееся различие в составе и цвете морского и материкового реголита связано с различием пород, их слагающих.

В последние годы установлено, что материковые районы Луны сложены в основном из анортозитов (основной породообразующий минерал — полевой шпат). Морские породы сложены преимущественно базальтовыми породами (их основные минералы: плагиоклазы, пироксены и ильменит). По своей химической природе и те и другие породы являются алюмосиликатами, но в базальте больше железа и магния, а в анортозитах — кальция и магния. Более темный цвет базальтов обусловливает и относительно темный цвет лунных морей. Толщина слоя реголита связана с временем возникновения, с размером, формой и количеством метеоритных кратеров, которые, по существу, перекрывают всю поверхность Луны.

Слой реголита может иметь толщину от нескольких сантиметров до десятков метров. Как правило, толщина слоя реголита увеличивается в местных понижениях и снижается на склонах кратеров и на вершинах гор. В отдельных случаях дно кратера может быть почти свободно от реголита.

Гранулометрический состав (т. е. количество частиц различного размера в определенном объеме) обусловливается действием противоположно направленных процессов, связанных с метеоритной бомбардировкой, процессов дробления горных пород и агрегации раздробленных частиц.

На начальных стадиях формирования реголита ведущими являются процессы дробления. По мере уменьшения размеров частиц возрастает роль процессов агрегации, сопровождающих метеоритные удары: спекания, сплавления и переплавления. В определенный период наступает равновесное состояние гранулометрического состава. Установлено, что для мелкозернистой части реголита (с частицами менее 1 мм) средний медианный размер частиц равен примерно 60 мкм (т. е. 50 % частиц имеют размер более 60 мкм и 50 % — меньше 60 мкм).

Этот размер частиц можно считать соответствующим разновесному состоянию реголита.

Количество обломков горных пород определяется геологической ситуацией. Количество и размеры камней возрастают вблизи относительно более крупных кратеров, имеющих более свежий вид, т. е. образованных позднее других.

В составе реголита можно выделить несколько типов частиц, отражающих характер и степень экзогенной переработки исходного материала.

Мелкообломочный материал (размерами менее 1 см) состоит из остроугольных обломков первичных пород, зерен минералов и стекол. Содержание этих частиц может меняться от 20 до 80 % и уменьшается с возрастанием зрелости, т. е. времени формирования реголита и с увеличением размера фракции. Много брекчий, т. е. вторичных литифицированных (окаменевших) спекшихся и ошлакованных частиц, которые обладают обычно причудливой неправильной формой. Брекчии образуются при быстром уплотнении частиц под действием ударно-взрывных явлений и при медленном уплотнении в вакууме под действием вышележащих слоев грунта. Характерным типом частиц являются также агглютинаты — спекшиеся агрегаты сложной неправильной формы. Подобно брекчиям они содержат фрагменты кристаллических пород и зерна минералов, но отличаются заметно большим содержанием стекла и высокой степенью оплавления поверхности.

Всегда в реголите встречаются частицы вторичного стекла, содержание которых увеличивается по мере созревания реголита. Многие частицы вторичного стекла имеют форму, близкую к сферической, что указывает на их формирование в результате застывания расплава в полете, т. е. они результат разбрызгивания и затвердевания расплава, возникающего в центральной зоне метеоритных взрывов. Эти частицы являются продуктом наиболее интенсивной стадии экзогенной переработки реголита.

Встречаются фрагменты метеоритов, в основном это кусочки никелистого железа.

Роль метеоритной обработки подтверждается образованием многочисленных микрократеров на поверхности отдельных частиц реголита (рис. 21).

Рис. 21. Следы ударов микрометеоритов на частицах реголита (большое увеличение)


По составу и форме частиц реголит является неоднородной структурной системой, которую по существующей классификации грунтов имеют среднезернистые пылевато-песчаные грунты. В то же время по наблюдавшимся визуальным признакам реголит обладает зернисто-агрегированной структурой. Для таких структур характерна та связность, которую обнаружил лунный грунт, а также склонность частиц реголита к объединению в агрегаты.

Для реголита характерна очень большая рыхлость. Он даже в уплотненном состоянии обладает пористостью, свойственной самым рыхлым земным грунтам. Средняя пористость реголита в верхнем слое толщиной 15 см около 50 %.

Объемный вес реголита существенно изменяется с глубиной. В тонком верхнем слое плотность равна 0,8–1 г/см3, а на глубине 50 см — до 2 г/см3. Плотность реголита является важным фактором, обусловившим его прочность и деформируемость. Так, несущая способность реголита увеличивается с увеличением плотности и ростом глубины (рис. 22). При нагружении лунный грунт резко и сильно изменяет свой первоначальный объем.

Рис. 22. Характер изменения несущей способности реголита с глубиной.


Проведенные исследования не обнаружили зависимости плотности от геологической ситуации и при переходе с моря на материк. Однако эксперименты на протяженных трассах, выполненные на «Луноходах», показали существенную изменчивость несущей способности реголита. При измерении прочности одного слоя грунта его несущая способность изменялась от 1,5 до 0,15 кгс/см2. В большинстве случаев прочность была связана с характером рельефа местности, однако иногда она менялась неожиданно и на равнинных участках.

По своим гранулометрическим и морфологическим характеристикам лунный реголит не имеет аналогов среди природных земных образований, как правило, существенно более однородных. Однако механические свойства реголита могут моделироваться с использованием специально измельченных и пересортированных земных грунтов-аналогов.

Заключение

10 лет, прошедших с момента первой посадки на Луну космического аппарата, принесли науке много нового и подчас неожиданного. Ученые — астрономы, геологи, геофизики, геохимики — сейчас подводят итоги напряженных лунных экспедиций. Миллиарды лет неуклонно удаляясь от Земли, в последние годы Луна стала ближе и понятнее людям. Можно согласиться с метким замечанием одного из видных селенологов: «из астрономического объекта Луна превратилась в геофизический».

Приоткрылась завеса над тайнами ранней молодости Луны, Земли и, по-видимому, всех планет земной группы, и одновременно обозначился контур их далекого будущего. Многое прояснилось, но многое и осталось скрыто «туманом» неоднозначности — ведь данных пока все-таки мало, а открытия, как это часто бывает, породили множество новых вопросов.

Селенологи не сомневаются, что активность Луны, как магматическая, так и тектоническая, была короткой и относилась лишь к ранним этапам ее эволюции, но по-прежнему горячи споры о космической «увертюре» — происхождении Луны. Достоверно воссоздана хронология возникновения лунных морей, но неясна природа «захороненных» в них масконов. Выяснилось, что длительный «сейсмозвон» рождается в верхних неоднородных слоях Луны, однако остается загадкой исчезновение поперечных волн на середине лунного радиуса. На Луне не обнаружено магнитного диполя, но высокая остаточная намагниченность лунных пород указывает на то, что давным-давно он существовал.

По многим своим основным характеристикам Земля и Луна схожи и, видимо, являются «космическими родственницами». Это в первую очередь касается их образования и начального этапа эволюции, сходного химического состава этих небесных тел и слоистой структуры их недр (рис. 23). Однако во многом это «родство» оказалось весьма дальним. Земля полна «тектонических бурь», Луна — пассивна и несейсмична. «Тектоническая жизнь» Земли и даже характер ее поверхности в значительной степени определяются внутренними причинами, тогда как на Луне они в основном имеют внешнее — космическое — происхождение.

Рис. 23. Схема внутреннего строения Луны


Различные этапы «планетарной жизни» Земли оставляли на ней новые формы фауны и флоры, новые горные хребты, трещины, дрейфующие континенты, катаклизмы землетрясений. Хронология эволюции Луны связана с ударами метеоритов и, кроме того, ограничивается первыми 1,5 млрд. лет, и с этого времени на Луне установилось тектоническое «спокойствие».

Так ли уж нужно землянам исследование Луны, не напрасно ли израсходовали они усилия на беспримерные в истории человечества космические полеты — ведь лунные «полезные ископаемые» разрабатывать явно нерентабельно? Нет, не напрасно! Луна вознаградила пытливых и отважных астронавтов и организаторов космических полетов, а вместе с ними и всех людей Земли. Сквозь «испещренное кратерами, запыленное лунное окно» стали яснее многие земные проблемы. Найден, например, самый древний «камень» в Солнечной системе и определен его возраст. Приоткрыты страницы «догеологической» истории Земли, так как нетронутая ветрами и водами поверхность Луны демонстрирует облик древнейшего рельефа Земли.

Луна представляет собой идеальную модель для изучения роли космических факторов в планетотектонике. Знание закономерностей приливных лунотрясений поможет осуществить сейсмический прогноз землетрясений. На основании лунных данных можно усовершенствовать геофизические методы наблюдений и модели их интерпретации.

Изучение строения Луны продолжается — чутко вздрагивают маятники сейсмометров, под микроскопами ученых лежат пробы грунта из южной окраины Моря Кризисов, доставленные «Луной-24». Совместный анализ Земли и Луны закладывает основы нового этапа в сравнительной планетологии. Текущие и гряду-щие полеты космических аппаратов к планетам земной группы должны дополнить и уточнить закономерности, касающиеся происхождения, внутреннего строения и эволюции планет и их спутников.

Литература

Космохимия Луны и планет. (ред.) Виноградов А. П. М., «Наука», 1975.

Ваньян Л. Л. и др. Кажущееся электрическое сопротивление Луны и его интерпретации. Изв. АН СССР. — «Физика Земли», 1973, № 11.

Жарков В. Н. Внутреннее строение Земли, Луны и планет. М., «Знание» сер. «Астрономия, космонавтика», 1973, № 2.

Левин Б. Ю. Развитие Луны в свете современных данных. — «Природа», 1971, № 12.

Николаев А. В., Галкин И. Н. Сейсмика Земли и Луны. — «Природа», 1974, № 5.

Рускол Е. Л. Происхождение Луны. М., «Наука», 1975.

Черкасов И. И., Шварев В. В. Грунт Луны. М., «Наука», 1975.

Примечания

1

Физико-механические характеристики реголита сходны с соответствующими характеристиками специально измельченного и отсортированного базальта (в вакууме и с учетом температуры на поверхности Луны)

(обратно)

2

На обложке показаны места посадки советских станций «Луна», доставивших обратно на землю лунный грунт (красные квадраты с соответствующими номерами), места посадки «Аполлонов» (черные квадраты с соответствующими номерами), места падений третьей ступени ракеты-носителя «Сатурн-5» (кружки) и места падений лунных кабин (треугольники).

(обратно)

3

Большая глубина очагов — уникальная особенность Луны. На Земле большинство очагов землетрясений сосредоточено в коре или по крайней мере в литосфере на глубинах несколько десятков километров, и лишь в районах возможного погружения океанической платы под континентальную они протягиваются до глубины 700 км.

(обратно)

4

Коэффициент Пуассона — упругий параметр, характеризующий способность пород сохранять свою форму при деформации. У компактных кристаллических пород коэффициент Пуассона 0,25.

(обратно)

5

1 миллигал = 10-3 см/с2, миллионная часть ускорения силы тяжести на поверхности Земли.

(обратно)

6

При вязкости 1 пуаз жидкость перетекает через сечение 1 см2 со скоростью 1 см/с под действием силы 1 г.

(обратно)

7

Перидотит — ультраосновная горная порода, богатая окислами железа и магния и обедненная кремнием. Состоит в основном из минералов оливина и пироксена.

(обратно)

Оглавление

  • Введение
  • Сейсмичность и скоростная структура Луны
  • Селенофизические поля
  • Физика лунных недр
  • Строение наружного покрова Луны
  • Заключение
  • Литература
  • *** Примечания ***